红星资本局12月10日报道,浙江金融资产交易中心股份有限公司(下称 “浙金中心”)近日深陷产品逾期兑付风波。让这家运行十余年、承载着当地投资者信赖的“老牌理财平台”,一夜之间信誉崩塌。
据第一财经12月9日报道,在杭州与浙金中心办公相关的地点,发现东站服务点已连续多日关门;而总部所在大楼虽仍在运作,但警力与安保明显加强。同时,距离总部约4公里的章家坝运河公园被设为临时维权登记点,连续多日均有大批投资者前往登记。
事件源于近日社交媒体传出“浙金中心平台交易的部分产品到期未能兑付”的消息。12月5日,有媒体证实这一消息属实。据悉,浙金中心平台上的产品收益率维持在4%-5%左右。但令投资者没想到的是,即便是这样的收益率也爆雷了。
事实上,在众多投资者毫无察觉的情况下,这家原本由国资背景股东占主的投资平台,其早已褪去国资背书,与私人企业实现利益捆绑。目前,其全称已改为“浙江浙金资产运营股份有限公司”。
据媒体报道,多位投资者表示,目前浙金平台上大部分产品都来自“祥源系”。而本次多款金融资产收益权发生逾期兑付的产品,均来自“祥源系”。
民置投资“入主”
针对产品逾期一事,12月5日,浙金中心董事长丁建林与祥源集团执行总裁沈保山在浙金中心回答了投资者疑问。
沈保山表示,目前到期未兑付的产品约2至3款,投资者购买一款产品的收益率可能是4%至5%,浙金中心平台收益为4%至5%,公司的融资成本约8%至9%。
沈保山称,“产品(的钱)是我们用的,所以也是我们担保。增信人是祥源或俞发祥的产品的相关公司(应指挂牌交易机构)都是祥源的关联公司。在此之前我们也是在东拼西凑地去兑付,现在我们没有钱了。”对于具体未兑付规模,沈保山表示具体细节还在商讨,暂不能透露。
官网资料显示,浙金中心成立于2013年12月。公司为各类金融资产提供公开、公正、公平的交易平台,实现资金需求方、供给方的灵活交易,促进金融资产流转和产品创新,打造专业化、规范化的金融资产和金融产品交易平台。
在浙金中心之前的股东阵营中,曾经确有国资背景股东占主。根据天眼查信息,原本股东中有宁波城建投资集团有限公司(以下简称“宁波城建投资”)、国信弘盛私募基金管理有限公司(以下简称“国信弘盛基金”)、民生置业有限公司,但均在2023年年底之前相继退出。红星资本局注意到,宁波城建投资、国信弘盛基金均为国有控股企业。
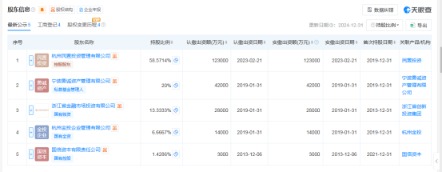
目前民营企业杭州民置投资管理有限公司(下称“民置投资”)上升为第一大股东。天眼查显示,截至2024年12月31日的信息,民置投资持股比例为58.57%,宁波勇诚资产管理有限公司持股比例为20%,浙江省金融市场投资有限公司持股比例为13.33%、杭州金投企业管理有限公司持股比例为6.67%,国信资本有限责任公司持股比例为1.43%。除了民置投资外,余下4家股东均为国资控股企业。

图据天眼查
值得注意的是,浙金中心金融资产交易业务资质已于去年10月被取消。浙江省地方金融管理局公告显示,自公告发布之日(2024年10月31日)起,浙江省不再存在金融资产类交易场所。
此外,浙金中心金融资产交易业务资质取消后,不影响该公司依法妥善承接应予承担的法律关系,并继续承担存量业务处置的市场主体责任;不影响存量业务融资主体依照合同约定继续承担按期兑付等责任。
值得注意的是,根据天眼查信息,2025年1月,浙金中心正式更名为“浙江浙金资产运营股份有限公司”,法定代表人、董事长兼总经理由丁建林变更为丁建琳。
大股东与“祥源系”共同持股一家企业
据悉,此次浙金中心陷逾期兑付的产品均来自“祥源系”。
多位投资者告诉记者,浙金平台上超90%产品都来自“祥源系”。有投资者向记者提供的“祥源系”产品登记表显示,截至12月8日,在浙金中心交易的“祥源系”产品交易规模已超过120亿元。
例如,有人表示,其母亲在浙金中心投资了10年,目前投资金额达到420万元,共买了17款产品,全部为“祥源系”的产品,预期年化收益率在4.4%~5.1%之间,其中2只产品已经到期,这2只产品的名称分别为“金融资产收益权(茂正绍兴)ZY2024052809”“金融资产收益权(海宏丽水)HH20240605002”。
还有投资者表示,他们一家人一共买了13只“祥源系”产品,目前有1只产品已于12月1日逾期兑付,涉及本金27万元,还有1只产品将于12月15日到期,涉及本金20万元,这两款产品的预期年化收益率均为4.4%。此前,并不知道买的产品全部来自“祥源系”,直到爆雷。
需要注意的是,浙金中心大股东民置投资与“祥源系”存在隐秘关联。
天眼查显示,祥源控股集团有限责任公司(以下简称“祥源控股”)旗下安徽益祥文旅产业有限公司持有杭州微游荟旅游度假管理有限公司(下称“微游荟”)55%股权,而民置投资持有微游荟另外的45%股权。

图据天眼查
3家上市公司紧急“撇清关系”
祥源控股官网显示,该公司创立于1992年,注册地位于浙江省绍兴市,法定代表人为俞发祥。公司是一家以文旅投资建设运营为主导的文旅行业领先企业,主要有文旅、基建和地产三大业务板块。
值得注意的是,“祥源系”产品逾期风波发生后,12月7日,祥源控股旗下三家上市公司,交建股份(603815.SH)、祥源文旅(600576.SH)、海昌海洋公园(02255.HK)紧急发布公告,均强调逾期产品与上市公司及其参、控股子公司均无关。
天眼查数据显示,祥源控股旗下祥源房地产集团有限公司、安徽祥源城市更新有限公司、安徽祥源公园城开发有限公司等多家公司被列为被执行人,且曾被出具限制消费令。
此外,12月5日,上海票据交易所票据信息披露平台发布的《截至2025年11月30日持续逾期名单》显示,祥源控股旗下多家公司上榜,涉及安徽祥源城市更新有限公司、安徽祥源公园城开发有限公司、阜南县祥源生态文化旅游开发有限公司等至少10家公司。
综合第一财经、经济参考报、界面新闻