伊利在内蒙古成立多家投资公司
来源:南方财经网
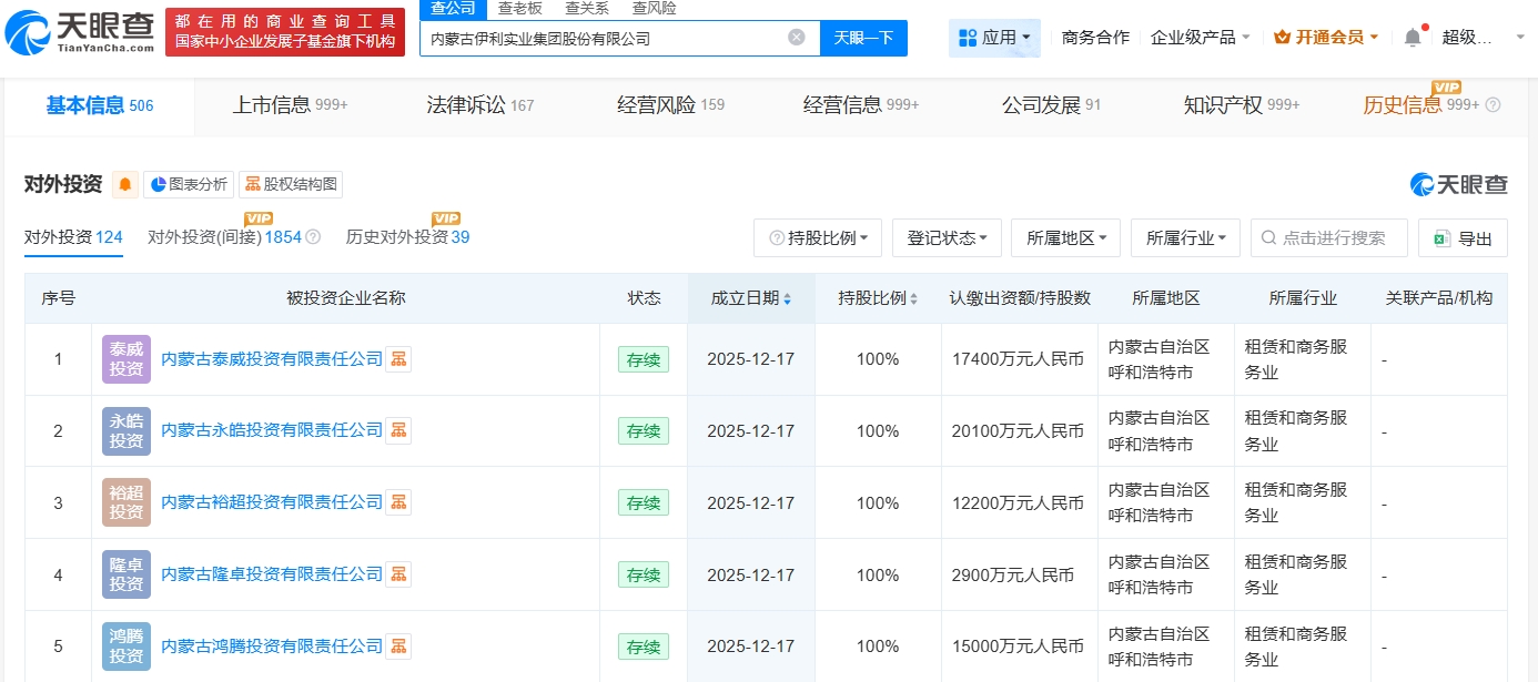
天眼查工商信息显示,近日,内蒙古永皓投资有限责任公司、内蒙古泰威投资有限责任公司、内蒙古鸿腾投资有限责任公司、内蒙古裕超投资有限责任公司、内蒙古隆卓投资有限责任公司成立,法定代表人均为乌云达来,注册资本分别为2.01亿人民币、1.74亿人民币、1.5亿人民币、1.22亿人民币、2900万人民币,经营范围为企业管理、企业管理咨询、以自有资金从事投资活动。股东信息显示,上述公司均由伊利股份(600887)全资持股。

郑重声明:用户在财富号/股吧/博客等社区发表的所有信息(包括但不限于文字、视频、音频、数据及图表)仅代表个人观点,与本网站立场无关,不对您构成任何投资建议,据此操作风险自担。请勿相信代客理财、免费荐股和炒股培训等宣传内容,远离非法证券活动。请勿添加发言用户的手机号码、公众号、微博、微信及QQ等信息,谨防上当受骗!
评论该主题
帖子不见了!怎么办?作者:您目前是匿名发表 登录 | 5秒注册 作者:,欢迎留言 退出发表新主题
温馨提示: 1.根据《证券法》规定,禁止编造、传播虚假信息或者误导性信息,扰乱证券市场;2.用户在本社区发表的所有资料、言论等仅代表个人观点,与本网站立场无关,不对您构成任何投资建议。用户应基于自己的独立判断,自行决定证券投资并承担相应风险。《东方财富社区管理规定》