中证智能财讯晨光电缆(834639)8月29日披露2024年半年度报告。2024年上半年,公司实现营业收入10.39亿元,同比增长12.56%;归母净利润4009.02万元,同比增长18.05%;扣非净利润3893.02万元,同比增长20.53%;经营活动产生的现金流量净额为-1.86亿元,上年同期为4596.95万元;报告期内,晨光电缆基本每股收益为0.2元,加权平均净资产收益率为4.74%。

以8月29日收盘价计算,晨光电缆目前市盈率(TTM)约为16.22倍,市净率(LF)约为0.88倍,市销率(TTM)约为0.37倍。

公司近年市盈率(TTM)、市净率(LF)、市销率(TTM)历史分位图如下所示:


根据半年报,公司第二季度实现营业总收入6.49亿元,同比增长34.52%,环比增长66.42%;归母净利润2105.71万元,同比增长149.89%,环比增长10.63%;扣非净利润2020.67万元,同比增长175.70%,环比增长7.92%。

资料显示,公司属于电线电缆行业,是集电线电缆的生产、销售、研发于一体的专业化制造企业。
2024年上半年,公司毛利率为13.71%,同比下降1.28个百分点;净利率为3.86%,较上年同期上升0.18个百分点。从单季度指标来看,2024年第二季度公司毛利率为13.34%,同比下降0.93个百分点,环比下降0.97个百分点;净利率为3.24%,较上年同期上升1.49个百分点,较上一季度下降1.64个百分点。

数据显示,2024年上半年公司加权平均净资产收益率为4.74%,较上年同期增长0.69个百分点;公司2024年上半年投入资本回报率为3.65%,较上年同期增长0.30个百分点。

2024年上半年,公司经营活动现金流净额为-1.86亿元,同比减少2.32亿元;筹资活动现金流净额1.70亿元,同比增加2.12亿元;投资活动现金流净额-2057.83万元,上年同期为-534.96万元。
进一步统计发现,2024年上半年公司自由现金流为-2.06亿元,上年同期为0.45亿元。

2024年上半年,公司营业收入现金比为88.88%,净现比为-463.47%。

营运能力方面,2024年上半年,公司总资产周转率为0.57次,上年同期为0.57次(2023年上半年行业平均值为0.49次,公司位居同行业13/37);公司应收账款周转率、存货周转率分别为1.19次、2.65次。

2024年上半年,公司期间费用为1.02亿元,较上年同期增加486.84万元;但期间费用率为9.85%,较上年同期下降0.71个百分点。其中,销售费用同比增长44.82%,管理费用同比下降0.94%,研发费用同比下降28.09%,财务费用同比下降17.89%。

资产重大变化方面,截至2024年上半年末,公司应收账款较上年末增加30.27%,占公司总资产比重上升8.45个百分点;货币资金较上年末减少22.16%,占公司总资产比重下降3.83个百分点;存货较上年末减少10.05%,占公司总资产比重下降3.54个百分点;固定资产较上年末增加1.96%,占公司总资产比重下降0.59个百分点。

负债重大变化方面,截至2024年上半年末,公司短期借款较上年末增加47.28%,占公司总资产比重上升5.95个百分点;其他应付款(含利息和股利)较上年末增加136.52%,占公司总资产比重上升1.61个百分点;合同负债较上年末减少23.41%,占公司总资产比重下降2.23个百分点;应付票据较上年末减少15.41%,占公司总资产比重下降2.36个百分点。

在偿债能力方面,公司2024年上半年末资产负债率为55.65%,相比上年末上升2.82个百分点;有息资产负债率为25.31%,相比上年末上升7.83个百分点。

2024年上半年,公司流动比率为1.59,速动比率为1.28。

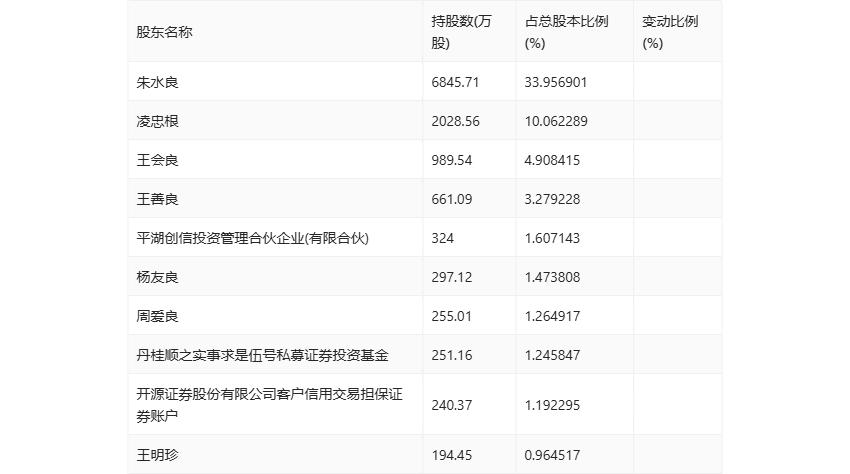
半年报显示,2024年上半年末公司十大股东中,新进股东为开源证券股份有限公司客户信用交易担保证券账户,取代了一季度末的朱韦颐。

筹码集中度方面,截至2024年上半年末,公司股东总户数为9325户,较一季度末下降了365户,降幅3.77%;户均持股市值由一季度末的8.70万元下降至8.35万元,降幅为4.02%。

指标注解:
市盈率
=总市值/净利润。当公司亏损时市盈率为负,此时用市盈率估值没有实际意义,往往用市净率或市销率做参考。
市净率
=总市值/净资产。市净率估值法多用于盈利波动较大而净资产相对稳定的公司。
市销率
=总市值/营业收入。市销率估值法通常用于亏损或微利的成长型公司。
文中市盈率和市销率采用TTM方式,即以截至最近一期财报(含预报)12个月的数据计算。市净率采用LF方式,即以最近一期财报数据计算。
市盈率为负时,不显示当期分位数,会导致折线图中断。