川商传媒苏竹青
4月7日,明德生物(002932)发布公告称,公司预计2025年度经审计的利润总额、净利润及扣除非经常性损益后的净利润均为负值,且扣除后营业收入低于3亿元。根据《深圳证券交易所股票上市规则》第9.3.1条第一款第(一)项规定,公司股票可能在2025年年度报告披露后,被实施退市风险警示(*ST)。
公告显示,公司预计2025年度利润总额亏损5,000万元至7,500万元,归属于上市公司股东的净利润亏损1,500万元至 2,500万元,扣除非经常性损益后的净利润亏损10,000万元至14,000万元;预计营业收入25,000万元至31,000万元,扣除非经常损益后营业收入23,700万元至29,700万元。前述数据表明,公司将触及“最近一个会计年度经审计的利润总额、净利润,扣除非经常性损益后的净利润三者孰低为负值,且扣除后的营业收入低于3亿元”的情形,深圳证券交易所将对其股票交易实施退市风险警示(股票简称前冠以“*ST”字样)。
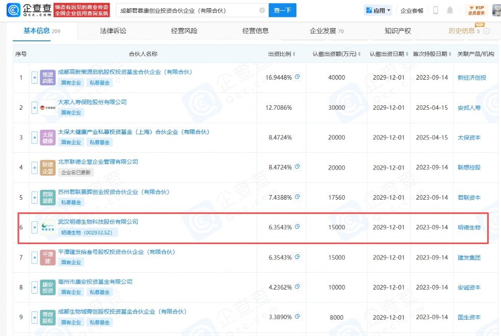
据了解,2023年6月,明德生物与成都君祺企业管理咨询合伙企业(有限合伙)、成都高新策源启航股权投资基金合伙企业(有限合伙)、西藏联投企慧企业管理有限公司、苏州君联景晖创业投资合伙企业(有限合伙)、平潭建发拾叁号股权投资合伙企业(有限合伙)、亳州市康安投资基金有限公司、成都生物城菁创股权投资基金合伙企业(有限合伙)、苏州君联睿思创业投资合伙企业(有限合伙)、北京键凯科技股份有限公司、郑州龙华医药产业基金合伙企业(有限合伙)、安徽迎驾投资管理有限公司、深圳科瑞技术股份有限公司、苏州义仓生物科技有限公司、盛景云(天津)互联网信息服务有限公司共同签署《成都君蓉康创业投资合伙企业有限合伙协议》,参与投资基金成都君蓉康创业投资合伙企业(有限合伙)。该基金的规模为人民币160,000万元,基金聚焦创新药及生物技术、医疗器械及诊断技术、专业服务及供应链,重点关注早期创新、供应链本土化、国际化方向的投资。
