宏胜饮料集团今年已申请多枚“娃小宗”商标
来源:南方财经网
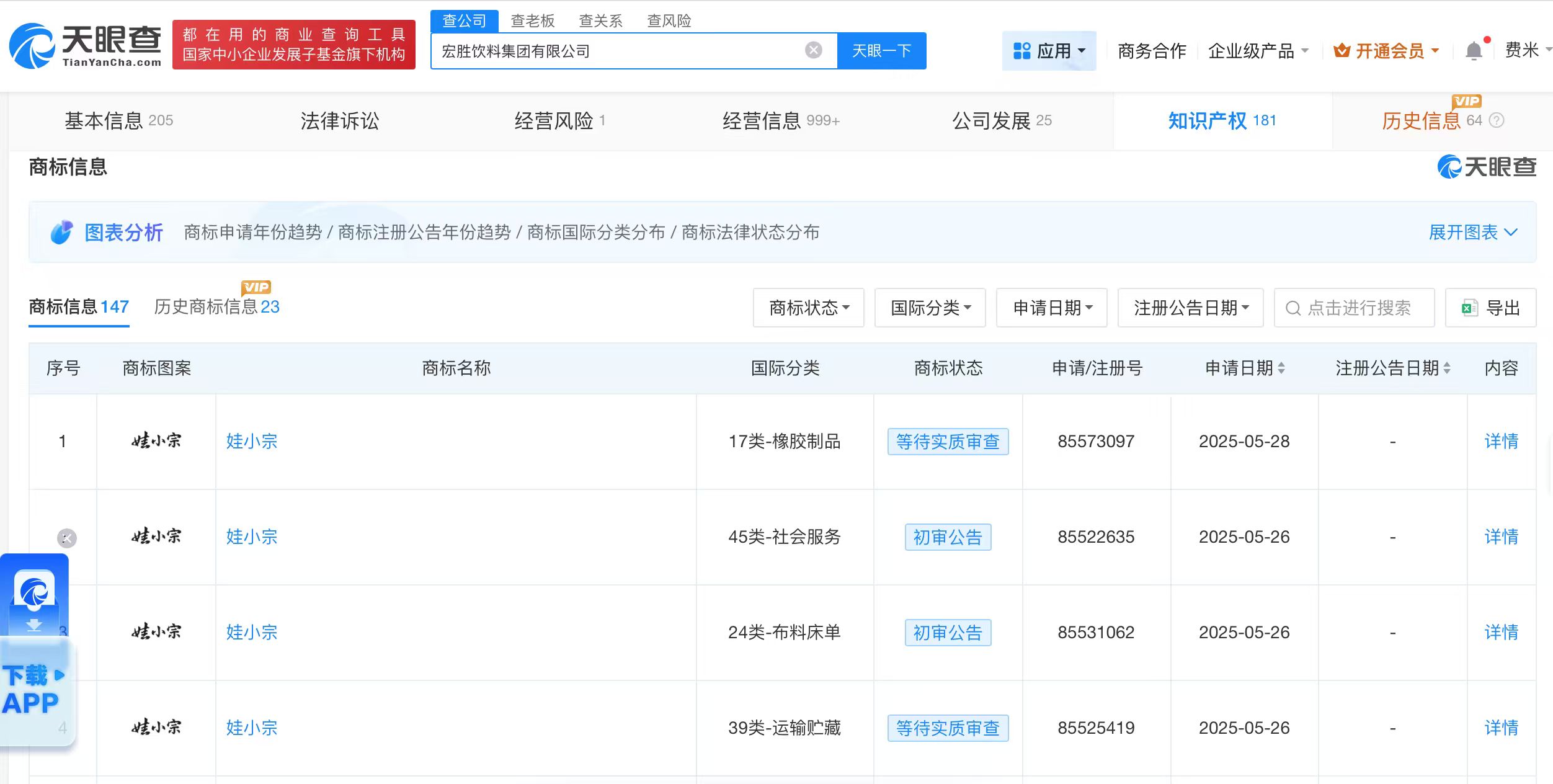
南方财经10月11日电,天眼查知识产权信息显示,今年以来,宏胜饮料集团有限公司已申请注册多枚“娃小宗”“宗小哈”“娃小哈”商标,国际分类涉及食品、啤酒饮料、广告销售等。其中,多枚“娃小宗”“宗小哈”商标状态为初审公告。宏胜饮料集团有限公司成立于2003年10月,法定代表人为祝丽丹,注册资本1025万美元,经营范围包括食品销售、食品添加剂销售、塑料制品销售等,由恒枫贸易有限公司全资持股,宗馥莉在该公司担任董事。值得注意的是,河南某健康产业公司、新吴某电子商务公司、九江某科技公司等均已申请注册“娃小宗”商标,当前商标状态为等待实质审查。

郑重声明:用户在财富号/股吧/博客等社区发表的所有信息(包括但不限于文字、视频、音频、数据及图表)仅代表个人观点,与本网站立场无关,不对您构成任何投资建议,据此操作风险自担。请勿相信代客理财、免费荐股和炒股培训等宣传内容,远离非法证券活动。请勿添加发言用户的手机号码、公众号、微博、微信及QQ等信息,谨防上当受骗!
评论该主题
帖子不见了!怎么办?作者:您目前是匿名发表 登录 | 5秒注册 作者:,欢迎留言 退出发表新主题
温馨提示: 1.根据《证券法》规定,禁止编造、传播虚假信息或者误导性信息,扰乱证券市场;2.用户在本社区发表的所有资料、言论等仅代表个人观点,与本网站立场无关,不对您构成任何投资建议。用户应基于自己的独立判断,自行决定证券投资并承担相应风险。《东方财富社区管理规定》