期权智投播报 | 英伟达创历史新高 多张call单涨幅超2倍
来源:哈富证券
一、美股指数期权一览
当前美股指数期权市场成交量略有上行,认沽/认购比例下行,空头力量持续退场。
今日到期的标普500指数期权成交量分布:Call单与Put单分布存在分歧,Put单峰值在6850点,Call单峰值在6950点。
今日到期的纳斯达克100指数期权成交量分布:Call单峰值为25900,Put单峰值在25700点。
二、美股期权成交榜
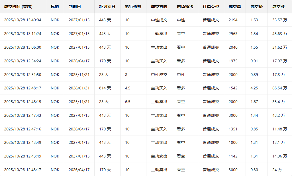
1、诺基亚上一交易日涨22.84%,前一日认沽/认购比例小幅上行,成交量大幅增长,多头气势如虹。
观察本周五到期的call单,最高涨幅超44倍。

观察期权异动大单,临收盘前,大户看空为主。

消息面上,英伟达将以每股6.01美元认购诺基亚约1.66亿股,获2.9%股权。双方将在5G和6G网络软件及AI基础设施领域合作。英伟达推出面向6G网络的Aerial RAN Computer Pro计算平台,诺基亚将在此基础上扩展其RAN产品组合,推出新的AI-RAN产品。T-Mobile将与两家公司合作,计划2026年开始进行AI-RAN技术现场测试,将技术整合到其6G开发流程中。
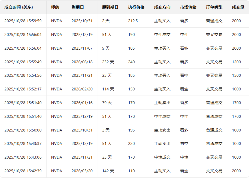
2、 英伟达上一交易日涨4.98%,前一日认沽/认购比例大幅上行,成交量增长,多头力量强。
观察本周五到期的call单,多张涨幅超2倍。

观察期权异动大单,临收盘前,大户看多为主。

美股期权成交量排行榜前十

美股引申波动幅度排行榜前十(标的市值>100亿美元,且期权成交量>10万美元)

三、美股ETF期权成交榜美股ETF期权成交量排行榜前十

美股ETF引申波幅排行榜前十(标的要求:市值>100亿美元)

郑重声明:用户在财富号/股吧/博客等社区发表的所有信息(包括但不限于文字、视频、音频、数据及图表)仅代表个人观点,与本网站立场无关,不对您构成任何投资建议,据此操作风险自担。请勿相信代客理财、免费荐股和炒股培训等宣传内容,远离非法证券活动。请勿添加发言用户的手机号码、公众号、微博、微信及QQ等信息,谨防上当受骗!
评论该主题
帖子不见了!怎么办?作者:您目前是匿名发表 登录 | 5秒注册 作者:,欢迎留言 退出发表新主题
温馨提示: 1.根据《证券法》规定,禁止编造、传播虚假信息或者误导性信息,扰乱证券市场;2.用户在本社区发表的所有资料、言论等仅代表个人观点,与本网站立场无关,不对您构成任何投资建议。用户应基于自己的独立判断,自行决定证券投资并承担相应风险。《东方财富社区管理规定》