《科创板日报》10月31日讯(记者陈俊清)10月30日,上交所官网显示,盛合晶微半导体有限公司(下称“盛合晶微”)科创板IPO审核状态变更为已受理。
盛合晶微官网显示,该公司是集成电路晶圆级先进封测企业,起步于先进的12英寸中段硅片加工,并进一步提供晶圆级封装(WLP)和芯粒多芯片集成封装等全流程的先进封测服务,致力于支持各类高性能芯片,尤其是图形处理器(GPU)、中央处理器(CPU)、人工智能芯片等。

盛合晶微此次科创板IPO拟募资48亿元,主要投向三维多芯片集成封装项目和超高密度互联三维多芯片集成封装项目。
营收复合增长率在全球封测前十大企业中位居第一
根据Gartner的统计,2024年度,盛合晶微是全球第十大、境内第四大封测企业,且该公司2022年度至2024年度营业收入的复合增长率在全球前十大企业中位居第一。
财务表现方面,盛合晶微近年来营收净利总体呈快速增长的态势。2022年至2024年及2025年上半年,该公司实现营业收入约为16.33亿元、30.38亿元、47.05亿元、31.78亿元,2022 年至2024年复合增长率达69.77%;同期归母净利润分别约为-3.29亿元、3413.06万元、2.14亿元、4.35亿元,2025年上半年的归母净利润就达到了2024年全年的2倍以上。
拆分业务来看,盛合晶微主营业务构成分别为中段硅片加工、晶圆级封装、芯粒多芯片集成封装,2025年上半年,上述业务收入分别为9.92亿元、3.94亿元、17.82亿元,占主营业务收入比分别为 31.32%、12.44%、56.24%。
盛合晶微采用“客户定制,以销定产”的受托生产加工模式,根据客户提供的业务预测规划产能,并按计划进行投产。
研发投入方面,盛合晶微报告期内研发费用分别为2.57亿元、3.86亿元、5.06亿元和3.67亿元,在各期营收当中的占比分别为15.72%、12.72%、10.75%和11.53%。截至今年上半年,盛合晶微拥有519 项境内专利、72项境外专利以及其他商业秘密。
报告期内,盛合晶微对前五大客户的合计销售收入占比分别为72.83%、87.97%、89.48%和90.87%。其中,盛合晶微对第一大客户的销售收入占比分别为40.56%、68.91%、73.45%和74.40%,呈现持续提升的趋势。招股书显示,盛合晶微服务的第一个客户为高通。
行业头部企业集中度高
根据Gartner的统计,2024年全球前十大封测企业中,前三大企业的市场份额合计占比约为50%。中国大陆和中国台湾的企业在集成电路封测行业占据优势地位,2024年全球前十大封测企业中,中国大陆和中国台湾分别有4家和3家企业。
中国大陆集成电路封测行业主要有长电科技、通富微电、华天科技三家大型封测企业,其封装形式布局完善,业务规模较高。除上述大型封测企业外,凭借在某些细分领域积累的技术,中国大陆涌现出较多专注于特定领域或特定工序的新兴封测企业,但其业务规模与大型封测企业相比仍较小。
2024年,除上述三家大型封测企业的营收规模超过100亿元外,中国大陆其他封测企业的营收规模均在50亿元以内。
综合型封测企业中,盛合晶微将日月光、安靠科技、长电科技、通富微电、华天科技、甬矽电子作为可对比公司;专业型封测企业中,其可对比公司为颀中科技、京元电子、伟测科技、晶方科技;晶圆制造企业中,其可对比公司为台积电、英特尔、三星电子。

在可对比的专业型封测企业中,盛合晶微营收排名靠前,而在可对比的综合型封测企业和晶圆制造企业企业中,其营收排在末端。
高通、中芯国际都投了
盛合晶微前身为中芯长电半导体(江阴)有限公司,由中芯国际与长电科技合资创立。2021年中芯国际以3.97亿美元转让所持55.87%股权后更名为盛合晶微。
成立至今,盛合晶微共历经5次融资,其中多轮融资金额超过数亿美元,背后投资方阵容庞大。
具体来看,该公司2015年11月的A轮融资投资方包括中芯国际、高通创投、国家集成电路产业投资基金。随后于2021年、2023年发生的C轮和C+轮融资金额分别为3亿美元、3.4亿美元,并且引入了厚望系和中金系股东。
盛合晶微最近一期融资发生在2024年12月,融资金额达7亿美元,投资方包括新国联集团、新城投资、孚腾资本、上海国际集团、临港数科基金、君联资本及国寿股权。
盛合晶微董事长、首席执行官为崔东,其出生于1971年,拥有硕士研究生学历。崔东于1996年至1998年间任电子工业部办公厅秘书;1998年至2002年,历任上海华虹集团有限公司董办副主任、北京联络处主任;2002年至2009 年,任华虹国际美国公司(Hua Hong Intl (USA) LLC)副总经理;2009年12月至2011年8月,任中电资本(CEC Capital USA LLC)总裁;2011年至2015年,历任中芯国际副总经理、资深副总裁、执行副总裁;2014年至2021年,任公司执行董事、首席执行官;2021年6月至今,任盛合晶微董事长兼首席执行官。
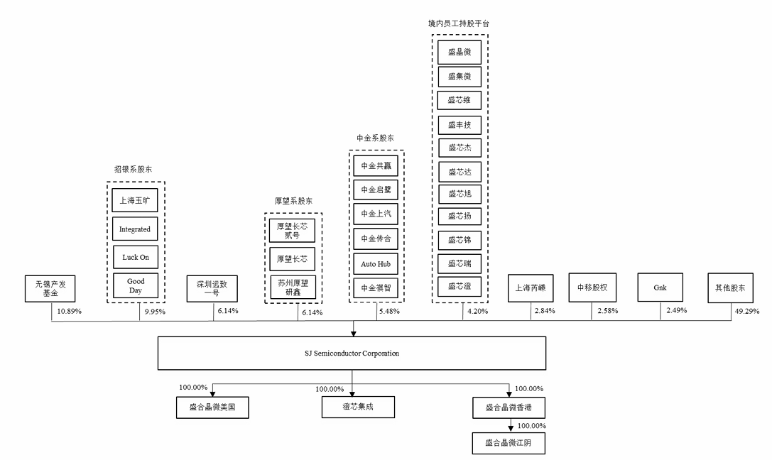
股权结构方面,截至招股说明书签署日,盛合晶微前五大股东分别为无锡产发基金、招银系股东、深圳远致一号、厚望系股东、中金系股东,持股比例分别为10.89%、9.95%、6.14%、6.14%、5.48%。

招股书显示,最近两年内,盛合晶微无控股股东且无实际控制人。由于该公司股东之间的关联关系未实质改变其股权分散的状态,因此,盛合晶微任何单一股东均无法控制股东会且不足以对股东会决议产生决定性影响。
 
    