• 最近访问:
发表于 2025-11-10 21:03:50 股吧网页版
期权智投播报 | 市场盘中拉升 期权大户做多积极
来源:哈富证券

  一、美股指数期权一览

  当前美股指数期权市场成交量上行,认沽/认购比例上行,空头持续加码。

  今日到期的标普500指数期权成交量分布:Call单与Put单分布存在分歧,Put单峰值在6700点,Call单峰值在6800点。

  今日到期的纳斯达克100指数期权成交量分布:Call单峰值为25300,Put单峰值在25000点。

  二、美股期权成交榜

  1、特斯拉上一交易日跌3.68%,前一日认沽/认购比例小幅上行,成交量小幅度上行。

  观察期权异动大单,临收盘前,大户以看多为主。

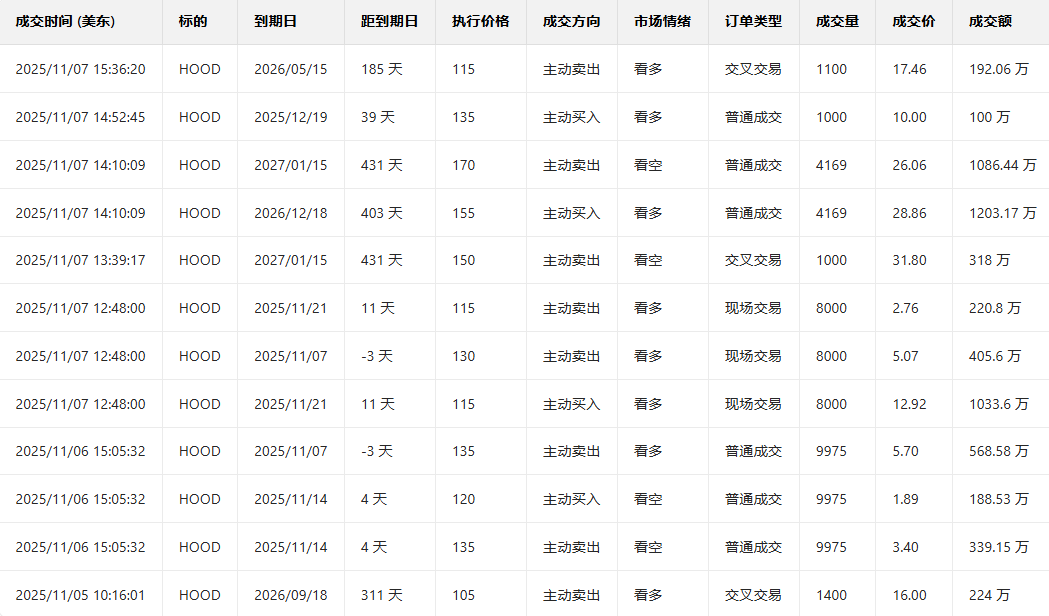
  2、Robinhood上一交易日涨2.58%,前一日认沽/认购比例小幅上行,成交量小幅度下行。

  观察期权异动大单,临收盘前,大户以看多为主。

  美股期权成交量排行榜前十

  美股引申波动幅度排行榜前十(标的市值>100亿美元,且期权成交量>10万美元)

  三、美股ETF期权成交榜美股ETF期权成交量排行榜前十

  美股ETF引申波幅排行榜前十(标的要求:市值>100亿美元)

郑重声明:用户在财富号/股吧/博客等社区发表的所有信息(包括但不限于文字、视频、音频、数据及图表)仅代表个人观点,与本网站立场无关,不对您构成任何投资建议,据此操作风险自担。请勿相信代客理财、免费荐股和炒股培训等宣传内容,远离非法证券活动。请勿添加发言用户的手机号码、公众号、微博、微信及QQ等信息,谨防上当受骗!
作者:您目前是匿名发表   登录 | 5秒注册 作者:,欢迎留言 退出发表新主题
温馨提示: 1.根据《证券法》规定,禁止编造、传播虚假信息或者误导性信息,扰乱证券市场;2.用户在本社区发表的所有资料、言论等仅代表个人观点,与本网站立场无关,不对您构成任何投资建议。用户应基于自己的独立判断,自行决定证券投资并承担相应风险。《东方财富社区管理规定》

扫一扫下载APP

扫一扫下载APP
信息网络传播视听节目许可证:0908328号 经营证券期货业务许可证编号:913101046312860336 违法和不良信息举报:021-61278686 举报邮箱:jubao@eastmoney.com
沪ICP证:沪B2-20070217 网站备案号:沪ICP备05006054号-11 沪公网安备 31010402000120号 版权所有:东方财富网 意见与建议:4000300059/952500