• 最近访问:
发表于 2025-11-12 22:06:50 股吧网页版
铂爵旅拍董事长许春盛等被执行1.75亿元 名下17家企业已注销
来源:红星资本局

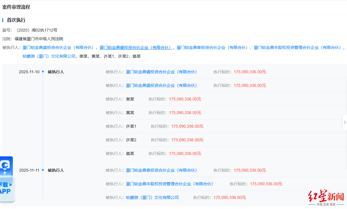
  红星资本局11月12日消息天眼查APP显示,铂爵游(厦门)文化有限公司(下称“铂爵游”)日前新增一则被执行人信息,厦门铂金鼎睿投资合伙企业(有限合伙)(下称“铂金鼎睿”)、厦门铂金鼎盛投资合伙企业(有限合伙)(下称“铂金鼎盛”)、谢某、黄某、许某1、许某2、詹某均被列为被执行人,执行标的1.75亿余元,执行法院为福建省厦门市中级人民法院。

屏幕截图

  据界面新闻,谢某、许某1、许某2分别为谢家章、许春盛、许春德。

  红星资本局注意到,铂爵游为铂爵旅拍文化集团有限公司(下称“铂爵旅拍”)旗下公司,谢家章、许春盛、许春德均为铂爵旅拍股东。其中,许春盛为铂爵旅拍董事长、总经理、法定代表人,并担任铂金鼎睿、铂金鼎盛两家公司的执行事务合伙人;许春德为铂爵游的法定代表人。

  铂爵旅拍成立于2014年12月,注册资本约5657万人民币,经营范围包括组织文化艺术交流活动、摄影扩印服务、摄像及视频制作服务等,由许春盛、谢家章、华润国调(厦门)股权投资合伙企业(有限合伙)等共同持股。

  风险信息显示,该公司现存多条股权冻结信息,被执行人包括许春盛、厦门铂金鼎丰股权投资管理合伙企业(有限合伙)等。控制企业信息显示,该公司控制47家企业,其中28家企业处于存续状态,19家企业已注销。许春盛控制企业33家,其中16家企业处于存续状态,17家企业已注销。

  红星资本局此前曾报道,今年7月,有媒体报道称,多位网友预订了铂爵旅拍的婚纱摄影,但是现在对接的工作人员微信不回、电话不接,官方售后电话也没人接,铂爵旅拍相关工作人员集体“失联”。7月18日,淘宝平台的铂爵旅拍旗舰店客服告诉红星资本局:“很抱歉,目前暂不接受新单预约拍摄,当前专注服务已拍客户的取件。”

  据南方都市报报道,厦门市翔安区市场监督管理局工作人员曾表示,接到大量关于铂爵旅拍的投诉后,目前该公司处于停业状态,现场查看发现所有业务已停止。

郑重声明:用户在财富号/股吧/博客等社区发表的所有信息(包括但不限于文字、视频、音频、数据及图表)仅代表个人观点,与本网站立场无关,不对您构成任何投资建议,据此操作风险自担。请勿相信代客理财、免费荐股和炒股培训等宣传内容,远离非法证券活动。请勿添加发言用户的手机号码、公众号、微博、微信及QQ等信息,谨防上当受骗!
作者:您目前是匿名发表   登录 | 5秒注册 作者:,欢迎留言 退出发表新主题
温馨提示: 1.根据《证券法》规定,禁止编造、传播虚假信息或者误导性信息,扰乱证券市场;2.用户在本社区发表的所有资料、言论等仅代表个人观点,与本网站立场无关,不对您构成任何投资建议。用户应基于自己的独立判断,自行决定证券投资并承担相应风险。《东方财富社区管理规定》

扫一扫下载APP

扫一扫下载APP
信息网络传播视听节目许可证:0908328号 经营证券期货业务许可证编号:913101046312860336 违法和不良信息举报:021-61278686 举报邮箱:jubao@eastmoney.com
沪ICP证:沪B2-20070217 网站备案号:沪ICP备05006054号-11 沪公网安备 31010402000120号 版权所有:东方财富网 意见与建议:4000300059/952500