红星资本局11月14日消息,近日,广州地标建筑广州圆大厦(又名“铜钱大厦”)迎来了第三次上架拍卖。
阿里拍卖平台披露的信息显示,11月14日10点,广东兴业国际实业有限公司重整投资权益因无人竞拍而流拍。拍品所有人为广东兴业国际实业有限公司,拍卖原因系破产重整。
该项目具体标的物包括2宗土地使用权、3项不动产,以及固定资产。标的主要资产正是广州地标建筑——广州圆大厦。项目评估价近17亿元,打8折后以13.6亿元起拍。
拍卖时间为2025年11月13日10时至2025年11月14日10时止,共有545人设置提醒,超3万次围观,但无人报名出价。
为还债再被拍卖
打8折13.6亿元起拍无人竞拍
作为广州珠江边上最具标识性的建筑,广州圆大厦总投资10亿元。
公开资料显示,广州圆大厦由鸿达兴业集团有限公司(以下简称“鸿达兴业集团”)于2010年斥资10亿元开建,于2013年12月16日竣工,2015年正式投用。大厦高138米,共33层,总建筑面积约10.5万平方米,外圆直径146.6米,内圆直径47米,是当时全球最大最圆的建筑。


据媒体报道,2013年,该建筑曾花10万元公开征集名字,最终取名“广州圆大厦”。因外表酷似一枚铜钱,它常被网友称为“铜钱大厦”,还一度被评为“最丑建筑”。
此次拍卖已是广州圆大厦第三次拍卖,前两次拍卖均未成功。受到母公司鸿达兴业集团债务危机影响,广州圆大厦在2022年4月曾作为抵押物上了中拍平台。到2023年2月,鸿达兴业集团经营基本停滞,申请破产清算。同年8月,鸿达兴业集团启动重整投资人预招募,彼时起拍价约55.89亿元,但该次拍卖最终未能达成。
2024年,广州市中级人民法院正式裁定鸿达兴业集团有限公司破产。直到今年11月中旬,广州圆大厦迎来第三次拍卖,打8折后以13.6亿元起拍,因无人出价而流拍。
幕后资方潮汕富豪已成“老赖”
红星资本局注意到,此次拍卖的标的,实际上是广州圆大厦所有者广东兴业国际的重整投资权益,即以广东兴业国际纳入重整范围内的资产为基础,通过公开竞价的方式确定广东兴业国际重整投资人。
根据规则,竞价成功的重整投资人,经审查确认符合条件后,将再与管理人签署《重整投资协议》,且按约定付清重整投资对价后,按照《重整计划》规定及《重整投资协议》约定享有广东兴业国际相应的股东权利,在符合条件时受让广东兴业国际原股东持有的全部股权,进而取得广东兴业国际100%股权以及该100%股权对应的纳入重整范围内的全部资产或权益。
而隐藏风险也被列在拍卖须知中:若《重整计划草案》未获债权人会议通过或未被广州中院裁定批准,本次竞价结果自动失效。这意味着,即使竞拍成功,竞拍人最终能否获得公司100%股权,还取决于法院是否批准这份以竞拍人为核心的重整计划。管理人将无息退还已收取的全部保证金,不承担其他赔偿责任。
天眼查资料显示,广东兴业国际实业有限公司的股东结构中,鸿达兴业集团占有96%的股份,广东东沙物流有限公司持股4%。
鸿达兴业集团的实控人为周奕丰,是一名潮汕商人,1999年起任鸿达兴业集团有限公司董事长;2004年起,任广东塑料交易所股份有限公司董事长;2012年3月起,任鸿达兴业股份有限公司董事长。
2019年10月,周奕丰以90亿元人民币财富位列《2019年胡润富豪榜》第444名。2020年2月,周奕丰以130亿元人民币财富名列《2020胡润全球富豪榜》第1607位。
不过,2020年鸿达兴业集团盈利能力出现下滑、偿债压力大,资产流动性弱,公司陷入债务危机。2024年,广州市中级人民法院正式裁定鸿达兴业集团有限公司破产。经审计,在破产申请受理日,该集团总资产为99.64亿元,负债规模高达338.45亿元,净资产为负238.81亿元,严重资不抵债。
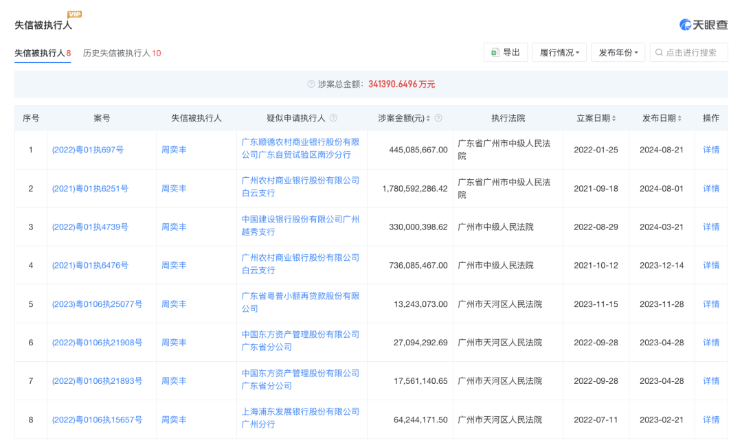
而周奕丰被司法诉讼列为失信被执行人、限制高消费、股权冻结等,涉及司法诉讼216条,监管措施5条,被执行金额约为34亿元。

今年年中,因财务造假、挪用募集资金和隐瞒重大诉讼等违法行为,鸿达兴业被江苏证监局罚款5800万元,周奕丰同时被处罚款2200万元,并终身市场禁入。
今年9月24日,鸿达兴业曾发布公告,董事长周奕丰因个人原因被某监察委员会立案调查并实施留置措施,暂时无法正常履职;直到今年10月10日,方被解除留置。