近日,享道出行正式向港交所递交招股书,寻求主板上市。这家背靠上汽集团的网约车平台,以2024年交易总额计在中国网约车平台中排名第五。
但其招股书同时揭示出残酷的现实:三年半时间累计亏损超过19亿元,且绝大部分订单依赖聚合平台。
在网约车行业竞争日趋激烈的背景下,享道出行的上市之路充满挑战。
减资弥补,现金流承压
根据招股书,截至最后实际可行日期,常州赛可持股享道出行68.94%,上汽总公司持股6.43%,天津高行持股6.47%。其中,常州赛可由上汽总公司控制及拥有99.9%的权益,该公司的最终控股股东为上海市国有资产监督管理委员会。
作为上汽集团旗下的网约车平台,享道出行冲刺港股IPO的背后,盈利难题已成为绕不开的核心挑战。财报显示,享道出行2022年、2023年、2024年及2025年上半年,录得亏损分别为7.81亿元、6.04亿元、4.07亿元及1.15亿元,三年半累计亏损约19.07亿元。尽管亏损额逐年收窄,但2025年上半年营收同比微降2.8%,核心网约车业务收入下降5.4%,增长停滞的态势已然显现。
不过,公司毛利率表现出现了一定好转。财报显示,公司整体毛利率从2022年的1.0%提升至2025年上半年的11.3%,网约车服务毛利率也转正至12.2%。

图片来源:招股书
但这种盈利改善的根基并不牢固。一方面,据网易报道,宁波网约车司机陈师傅通过享道出行承接了一笔从北仑到鄞州的订单,全程约30.58公里,乘客实际支付98元,而陈师傅扣除垫付的15元高速费后,到手仅48.63元,实际抽成比例高达41.41%。这种模式既损害司机权益,也会影响运力稳定和服务质量,难以长期持续。
另一方面,政府补助大幅退坡,从2022年的1.25亿元骤降至2025年上半年的0.15亿元,两年缩水88%,剔除这笔非经常性损益后,公司真实盈利压力更为突出。
为应对财务压力,2025年7月,享道出行进行了一次幅度高达91.48%的减资,注册资本从41.06亿元骤降至3.5亿元,专项用于弥补亏损。这一操作也直接暴露了公司自身盈利能力的薄弱和财务压力的巨大。
除了盈利端的难题,现金流方面的表现同样不容乐观。招股书显示,2022年至2024年,公司经营活动现金流出净额分别为7.41亿元、3.78亿元、2.04亿元,尽管2025年上半年录得8330万元现金流入,但这一“转正”发生在营收和订单量下滑的背景下,可持续性备受质疑。业内分析指出,这更像是通过压缩营运资金(如延长账期)实现的一次性红利,而非业务内生性造血能力的真正提升。
对于目前仍依赖减资补亏、现金流稳定性不足的享道出行而言,能否突破多重制约实现盈利,将直接影响其后续发展成色。
聚合平台依赖成顽疾
商业模式存结构性缺陷
盈利难题的背后,是享道出行商业模式的结构性缺陷,核心症结在于收入来源单一且过度依赖外部平台。财报显示,2025年上半年,公司营收同比下滑2.8%至30.13亿元,核心网约车服务收入下降5.4%至22.98亿元。
这一下滑趋势与享道出行对聚合平台的高度依赖密切相关。据新浪财经报道,来自高德等聚合平台的订单占比从2022年的 91.8% 一路攀升至2025年上半年的 98.1%。这意味着自有渠道订单占比已不足2%,公司几乎完全沦为聚合平台的“运力供应商”。
订单依赖带来的直接影响,是高额的佣金支出。招股书显示,2022-2025上半年,各期销售开支中,支付给聚合平台的佣金分别为2.73亿元、3.27亿元、4.42亿元、2.33亿元。2025年上半年,佣金占全部销售开支的比例已高达75.3%。
更值得关注的是,公司“重销售、轻研发”的困境,公司2025年上半年的研发开支仅为4458.3万元,支付给聚合平台的佣金是研发开支的5倍以上。

图片来源:招股书
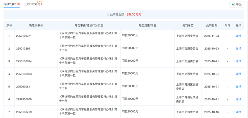
除了商业模式的短板,享道出行的合规管理体系也存在明显漏洞。天眼查数据显示,截至2025年11月16日,公司相关行政处罚达 150条,罚款总额 387.3万元。

来源:天眼查
享道出行在招股书中表示,由于平台上部分车辆或司机未取得必要许可证或执照即提供服务,我们可能会不时被罚款。于2022年、2023年、2024年及截止至2025年6月30日止六个月,我们因不合规而被处以的罚款不超过我们有关期间收入的0.1%。但在日益严格的监管环境下,此类合规漏洞不容忽视。
Robotaxi押注未来
难解当下燃眉之急
享道出行在港股IPO的叙事中,将 Robotaxi(自动驾驶出租车) 作为其未来价值的重要支点。然而,结合行业数据与公司现状深入分析,这个看似美好的故事面临极其严峻的挑战。

图片来源:招股书
从规划规模来看,享道出行计划2026年在上海打造200台规模的L4级Robotaxi车队,在Robotaxi赛道中,行业玩家基于自身资源与战略规划,呈现出差异化发展态势。例如,文远知行当前L4级Robotaxi车队规模超700辆,且计划2030年前部署数万台,商业化落地节奏显著更快。
更关键的是财务压力,Robotaxi的采购、研发和运营需要巨额前置投入。例如,为满足L4级自动驾驶要求,车辆需配备多个激光雷达、高算力计算平台等昂贵硬件。然而,其商业化盈利周期却十分漫长。这对于三年半累计亏损已达19亿元,核心网约车业务尚未能自我造血的享道出行而言,无疑是沉重的财务负担。
与此同时,当前网约车市场的竞争格局呈现出 “一超多强” 且日益固化的态势。头部平台凭借其规模、数据或独特的商业模式构筑起护城河,新老玩家对用户和司机的争夺也日趋激烈。
作为行业的“一超”,滴滴在规模和盈利上的领先优势进一步巩固。财报显示,2025年第二季度,其核心平台交易额(GTV)达到1096亿元,同比增长15.9%;其中,中国出行业务GTV为825亿元,同比增长12.2%。更关键的是,滴滴已实现稳定盈利,其2025年第二季度经调整净利润为31亿元,中国出行业务调整后EBITA盈利达36亿元。这证明了其在庞大基数下依然健康的盈利能力。
在“多强”阵营中,第二梯队寻求差异化破局。例如,曹操出行作为第二梯队的代表,财报显示,其在2025年上半年实现了94.56亿元的营业收入,同比增长高达53.5%,同时经调整净亏损同比收窄34%。
更严峻的是,抖音等拥有巨大流量的新玩家也已通过聚合模式切入市场,进一步加剧了流量争夺。2025年1月,抖音在钱包内上线“打车”服务,目前主要与高德打车合作提供出行服务;而此前高德、美团等聚合平台已占据重要流量入口,抖音的入局无疑为行业带来新变量,进一步加剧了线上流量的分流与竞争。
面对行业竞争白热化与新玩家持续入局的双重挤压,身处赛道中的享道出行并未坐以待毙。例如,2025年3月31日享道在上海上线“轻享”车级,首批4000台荣威D7作为统一车型入列,该车型定位介于“舒享”与“尊享”之间,精准匹配中端市场需求;2025年5月享道完成13亿元C轮融资,募集资金拟用于自动驾驶研发及Robotaxi运营,还计划联合股东在上海打造L4级Robotaxi车队;为降低对聚合平台的依赖,持续投入资源推广自有渠道,但收效有限。
虽然背靠上汽集团,享有车辆供应链和制造方面的支持,但在“流量为王”的网约车市场,这一优势并未转化为决定性的胜势。
享道出行试图用Robotaxi的“未来故事”来支撑其IPO估值。然而,在行业整体遇冷、资本市场信心不足、自身盈利模式尚未走通的背景下,享道出行虽然描绘了从网约车到Robotaxi的宏伟蓝图,但资本市场更关心的是,这家严重依赖聚合平台、持续亏损的企业,何时能证明其盈利能力?(《理财周刊-财事汇》出品)
免责声明:文章表述的意见不构成任何投资建议,投资者据此操作,风险自担。