• 最近访问:
发表于 2025-11-22 19:19:40 股吧网页版
北京上新6宗宅地,涉及朝阳东坝乡、海淀东升镇区域
来源:新京报 作者:袁秀丽

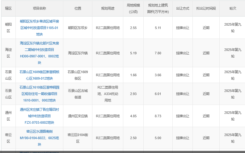
  11月21日,北京市规划和自然资源委员会网站发布了2025年第九轮拟供应商品住宅用地清单,共涉及6宗地,土地面积约20公顷,建筑规模约36万平方米,计划于近期供应。

  本轮推出的地块全部位于市场需求突出、基础设施和公共服务配套较完善的区域。从区域分布来看,中心城区占4宗,分别为朝阳区1宗、海淀区1宗、石景山区2宗;此外,通州区与密云区各有1宗。

  值得关注的是,海淀朱房又出新地块。此次推出的海淀区东升镇北部片区朱房二期城中村改造项目HD00-0907-0001、0002地块,位于海淀区东升镇,五环至六环之间,邻近地铁8号线永泰庄站。周边有清河万象汇、悦茂购物中心、奥林匹克森林公园北园等生活配套设施。

  朝阳区东坝乡单店区域平房区城中村改造项目1105-01地块,位于朝阳区东坝乡,五环至六环之间,邻近地铁3号线东坝站、东坝南站。周边有万达广场、金隅嘉品Mall、北京市第一中西医结合医院(东坝院区)、京城体育休闲公园等生活配套设施。

  此次石景山区供应两宗住宅用地,均位于古城街道,五环至六环之间。其中,石景山区1609街区新首钢核心区1609-012地块,邻近地铁11号线新首钢站。周边有六工汇购物广场、金安环宇荟购物中心、首钢园、北京冬奥公园等生活配套设施;石景山区1610街区首特钢园区规划住宅一期收储项目1610-0001、1610-0002地块,邻近地铁1号线、6号线、S1线换乘站苹果园站、11号线北辛安站。周边有喜隆多购物中心、京西大悦城、古城公园、首钢园等生活配套设施。

  通州区宋庄镇丁各庄等四村城中村改造项目FZX-0703-6002地块,位于通州区宋庄镇,六环外。周边有谷德玛特购物广场、华联购物中心(六合新村店)、北京安贞医院通州院区、宋庄文化创意公园、路县故城遗址公园等生活配套设施。

  密云区水源路南侧MY00-0104-6022、6025地块,位于密云区0104街区,六环外。周边有北京密云万象汇、燕赛奥特莱斯购物中心、国泰百货(密云店)、北京大学第一医院密云院区、奥林公园等生活配套设施。

  图/北京市规划和自然资源委员会网站截图

郑重声明:用户在财富号/股吧/博客等社区发表的所有信息(包括但不限于文字、视频、音频、数据及图表)仅代表个人观点,与本网站立场无关,不对您构成任何投资建议,据此操作风险自担。请勿相信代客理财、免费荐股和炒股培训等宣传内容,远离非法证券活动。请勿添加发言用户的手机号码、公众号、微博、微信及QQ等信息,谨防上当受骗!
作者:您目前是匿名发表   登录 | 5秒注册 作者:,欢迎留言 退出发表新主题
温馨提示: 1.根据《证券法》规定,禁止编造、传播虚假信息或者误导性信息,扰乱证券市场;2.用户在本社区发表的所有资料、言论等仅代表个人观点,与本网站立场无关,不对您构成任何投资建议。用户应基于自己的独立判断,自行决定证券投资并承担相应风险。《东方财富社区管理规定》

扫一扫下载APP

扫一扫下载APP
信息网络传播视听节目许可证:0908328号 经营证券期货业务许可证编号:913101046312860336 违法和不良信息举报:021-61278686 举报邮箱:jubao@eastmoney.com
沪ICP证:沪B2-20070217 网站备案号:沪ICP备05006054号-11 沪公网安备 31010402000120号 版权所有:东方财富网 意见与建议:4000300059/952500