• 最近访问:
发表于 2025-12-04 19:11:10 股吧网页版
纯债基跌出“踩雷感” 这波风险怎么看?
来源:财联社

  央行重启买债给市场注入的信心不多,债市依然在震荡。

  一方面,近期利率债尤其是超长期利率债持续上行,截至12月4日收盘,30年国债ETF年内回报率跌幅超5%。中长期纯债基金近一个月来平均跌幅0.1%,主动债基中,汇添富丰和纯债年内跌幅超7%。

  另一方面,信用债市场同样不平静,万科债的突发风险事件,形势仍不明朗,对公私募基金均造成冲击。华宸未来稳健添利单日跌幅3.56%,近一周跌幅7.4%引发关注,公司回应持有个别债券受市场环境影响出现调整;一波私募“踩雷”随之而来,亦有百亿私募债券基金单周跌幅超4%,导致二季度以来收益归零,公司表示下跌原因“对某展期资产的估值市场价调整”。

  债市调整,小作文流传速度明显加快。一是央行调研债券投资,提及银行出手老券的情况;二是加强公募基金产品分红管理,此举也被指约束债基高额分红现象。12月4日一度传出中金所紧急问询期货公司,国债期货空头水平。财联社记者获悉,持仓较多的几家券商当前TL净空头水平自9月以来保持稳定状态。

  长债急跌,30年期国债期货主力合约创近一年新低

  12月4日,国债收益率全线上行,以30年期国债为代表的超长期限品种是此次调整的焦点;超长期国债上行3.7bp,升至2.273%。截至收盘,国债期货收盘全线下跌,30年期主力合约跌1.04%报112.450元,创2024年11月22日以来新低;10年期主力合约、5年期主力合约以及2年期主力合约均下跌。

image

  回到场内债基,同样惨淡。

  12月4日收盘,2只30年国债ETF日内跌幅均超1.3%,年内跌幅分别达到5.73%、5.42%。以2023年上市的鹏扬旗下30年国债ETF为例,尽管年内尚有近20个交易日结束,该基金或将收获上市以来首次年内负收益。

  基准国债ETF、政金债ETF、十年国债ETF、可转债ETF单日跌幅居前。53只债券ETF中,仅有东财国债ETF、海富通短融ETF单日收涨。

image

  场外基金中,似乎更为惨烈。汇添富丰和纯债C年内跌幅超7%,垫底同类排名。此外,民生加银瑞夏一年定开债、华泰保兴尊益利率债6个月持有等跌幅居前,分别达到5.65%、4.56%。

image

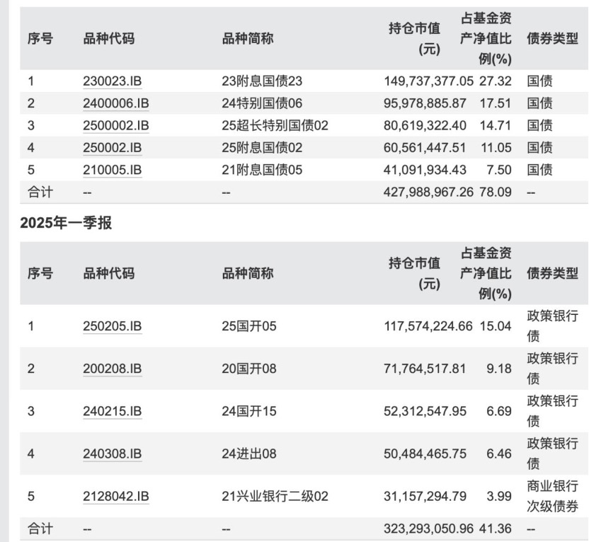
  汇添富丰和纯债跌出“踩雷”感,从持仓来看,今年下半年开始重仓超长期国债,而30年期国债主力合约自6月中旬到达高位以来,跌幅近6.7%。

image

  在资金流向,债券ETF依然获得资金的稳定流入。12月资金依然净流入24亿元,53只债券ETF合计规模达到7170.14亿元,持续新高。

  对于年利率债较大服务调整的原因,浙商银行方面指出,11月前两旬债券市场收益率整体下行乏力,市场更多演绎的是利差挖掘行情;而下旬以来,市场则在基金赎回等机构行为和投资者对国债买卖操作规模不及预期的担忧中,出现了加速上行。

  调整到位了吗?能否抄底了?

  该行指出,超长端的头寸仍显拥挤,目前依然仅适合小头寸的博弈,而短端品种虽然回调力度有限,但价值更为显著,适合大头寸的配置。

  基金公司给出震荡的判断,长城基金表示,回顾近年来债市季节性运行规律,因年末资金面边际宽松、机构配置需求集中释放等因素,过往12月多为上涨行情。但今年保险、社保等长期配置型机构,受跨年资金调度规划、来年资产负债匹配策略调整等因素影响,预计配置意愿弱于历史同期,季节性效应预计有所减弱。

  “债市大概率将维持区间震荡格局,趋势性行情减弱,更多呈现结构性机会与博弈性机会并存的特征。”长城基金表示。

  踩雷了?华宸未来稳健添利单周下跌7.4%

  华宸未来稳健添利净值的断崖式回撤引发市场的关注,该基金11月27日至12月1日三个交易日分别下跌1.77%、3.56%、1.48%,截至12月3日,近一周跌幅达到7.4%。

image

  从净值曲线上看,净值垂直下落,对于债基而言,单周超7%的跌幅,已经吞噬掉年内所有涨幅,当前该基金年内跌幅达到6.63%,这也终结了该基金自2020年以来的每年正收益纪录。华宸未来客服方面回应,基金净值出现比较明显的回撤,从固收投资团队反馈的信息来看,该基金持有的个别债券受市场环境影响发生了较大幅度的调整。

  因基金调整与万科债走势一致,也被外界解读为“踩雷”。进一步消息显示,华宸未来固收已经采取积极应对举措。对此,有公募基金人士表示,管理人处置可能会第一时间调低债券估值,因此,债基净值回撤的幅度较大,也较为直接。

  “并不能从净值回撤上判断市场仅有华宸未来这只产品踩雷,事实上有些公司会选择抗一抗,不调估值,债券基金净值平缓下跌,但是此期间有投资者赎回的话,存量客户就会承担这个风险。”上述基金公司人士表示。

image

  事实上,在此期间债基出现净值波动的不仅公募基金,一波私募基金同时出现了净值回撤。有消息显示,有百亿私募旗下激进型债券基金单周回撤超4%,也引发了踩雷上述债券的猜测,消息直指百亿私募合晟资产。

  对于原因,同样是对某展期资产的故事市场价进行调整,并且一次性调整到位,导致了净值的下跌。合晟基金坦言,这一调整令基金二季度以来的投资收益几近归零,也向投资者道歉称,“即始终以最大的善意对待善待我们的投资者,即使这个过程令所有短期投资结果显得血淋淋。”

  财联社记者从某信托人士处获悉,不少私募此次踩雷了上述债券,对于处置方式,该人士表示,已经要求FOF组合中底层基金对该债券按照0元估值,一次性计提到位。

郑重声明:用户在财富号/股吧/博客等社区发表的所有信息(包括但不限于文字、视频、音频、数据及图表)仅代表个人观点,与本网站立场无关,不对您构成任何投资建议,据此操作风险自担。请勿相信代客理财、免费荐股和炒股培训等宣传内容,远离非法证券活动。请勿添加发言用户的手机号码、公众号、微博、微信及QQ等信息,谨防上当受骗!
作者:您目前是匿名发表   登录 | 5秒注册 作者:,欢迎留言 退出发表新主题
温馨提示: 1.根据《证券法》规定,禁止编造、传播虚假信息或者误导性信息,扰乱证券市场;2.用户在本社区发表的所有资料、言论等仅代表个人观点,与本网站立场无关,不对您构成任何投资建议。用户应基于自己的独立判断,自行决定证券投资并承担相应风险。《东方财富社区管理规定》

扫一扫下载APP

扫一扫下载APP
信息网络传播视听节目许可证:0908328号 经营证券期货业务许可证编号:913101046312860336 违法和不良信息举报:021-61278686 举报邮箱:jubao@eastmoney.com
沪ICP证:沪B2-20070217 网站备案号:沪ICP备05006054号-11 沪公网安备 31010402000120号 版权所有:东方财富网 意见与建议:4000300059/952500