• 最近访问:
发表于 2025-12-10 10:28:40 股吧网页版
频准激光科创板IPO获受理 聚焦高端光纤激光器研发 核心团队来自上海光机所
来源:财联社

  《科创板日报》12月10日讯(记者陈俊清)上交所官网显示,上海频准激光科技股份有限公司(下称:“频准激光”)申报科创板IPO获受理,保荐机构为中信建投。

  据介绍,频准激光致力于高端光纤激光器的研发与生产,以应用导向的精密光纤激光器为核心竞争力。主要瞄准量子信息、激光雷达、先进工业和医疗美容等市场,推出波长、线宽、脉冲波形等精准调控的高端光纤激光器产品。

  此次IPO,频准激光拟募集资金约14.1亿元,所募集资金扣除发行费用后,将投资于精准激光系统产业化建设项目、研发中心建设项目、武汉研发中心建设项目、补充流动资金。

  ▍聚焦高端光纤激光器研发

  根据QY Research的研究数据并经测算,2024年,频准激光在全球量子科技领域的激光器市场占比为9.21%,国内量子科技领域的激光器市场占比为16.85%。2024年,频准激光在半导体领域收入金额为0.75亿元,占国内市场1.98%的份额。

  其招股书显示,经过多年积累,频准激光发展出一条“种子源+光纤放大+非线性频率变换+稳频”的激光技术路线,实现177-5000nm全波段覆盖的窄线宽、低噪声、高频率稳定性、大功率激光输出,具备抗振动、可搬运、无跳模等优势。

  在半导体领域,频准激光在晶圆制造领域推出高相干性精准激光光源产品,在晶圆量检测领域推出高功率266nm/313nm/355nm等紫外激光器,在晶圆隐切领域推出了1100nm高能量纳秒激光器,服务于中安半导体、昂坤视觉等客户。

  在量子科技领域,频准激光提供多波长、极窄线宽、低噪声、长相干长度的精准激光器产品,产品服务于包括中国科学院、清华大学等高校、研究院所和国盾量子、华翊量子、国仪量子等量子科技公司。

  国内市场中,量子科技领域,频准激光客户主要为高校、科研院所和量子科技公司,如昂坤视觉、中国科学院等。海外市场中,公司主要海外客户为量子科技领域的高校、科研院所和量子科技公司,如哈佛大学、科罗拉多大学、芝加哥大学等。

  从上游供货商来看,频准激光原材料采购主要来自于中国及美国厂商,包括光库科技、羽宸光电、中电科、索雷博、山东极量信息科技发展有限公司、上海爱涛信息科技有限公司、简并科技、恩耐激光技术(上海)有限公司等。

  业绩方面,频准激光近年来营收净利增长较快,其2022年至2024年度营业收入复合增长率达90.49%。

  财务数据显示,2022年至2024年,该公司分别实现营业收入0.80亿元、1.48亿元和2.92亿元,同期归母净利润达3396.29万元、6046.36万元和1.16亿元。 2025年上半年,该公司实现营业收入1.8亿元,归母净利润7091万元。

  对于未来发展规划,频准激光在招股书中提及三个方面:一是为保障产品相关产业链的自主可控并降低成本,该公司将持续布局上游核心零部件;二是该公司将持续保持高研发投入;三是该公司将面向生命医疗光源、飞秒超快激光、先进固体激光等新方向持续横向拓展布局。

  ▍国投创业等参投核心团队来自上海光机所

  招股书显示,频准激光2017年在上海嘉定成立,其核心研发团队来自中科院上海光机所。

  据了解,频准激光创始人张磊出生于1986年4月,拥有中科院上海光机所工学博士学位,2014年6月至2018 年10 月,任中科院上海光机所副研究员;2017年11月至2024年5月,任频准有限执行董事、经理;2024年5月至2024年12月,任频准有限董事长、总经理;2024年12月至今,任频准激光董事长、总经理。

  此外,频准激光董事、倍频研发部总监赵儒臣也曾在中科院上海光机所任职,2018年5月至2018年8月期间,赵儒臣任中科院上海光机所博士后研究员。

  股权结构方面,招股书显示,张磊直接持有该公司54.71%的股权,通过上海光团控制该公司7.33%的股权,张磊合计控制该公司62.04%股权,系其控股股东、实际控制人。

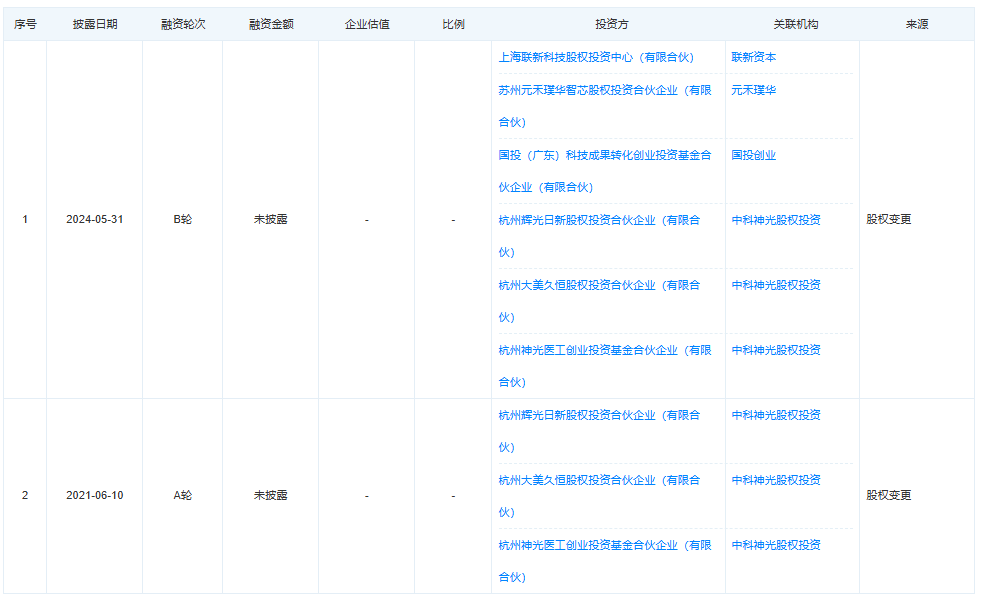
  频准激光共有14名股东,除控股股东张磊外,频准激光股东包括国投创业、元禾璞华、普华投资这类国有资本,持股比例分别为4.76%、1.90%、1.71%。

  《科创板日报》记者注意到,辉光日新、神光医工、联新投资等产业资本也出现在频准激光股东行列。其中,辉光日新、神光医工的执行事务合伙人和基金管理人均系杭州中科神光股权投资有限公司;联新投资、联新五期、联新三期的基金管理人均系上海联新资本管理有限公司。

  融资历程方面,工商信息显示,频准激光共经历两轮融资,其发生在2021年6月的A轮融资投资方为中科神光股权投资有限公司,2024年5月的B轮融资中,中科神光股权投资有限公司继续跟投,新增投资机构为联新投资、国投创业、元禾璞华。

  当前,我国高端激光器产品进口依赖程度较高。上海交通大学教授义理林在昨日(12月9日)举行的好望角科学沙龙中表示,当前国内从事激光器生产的企业数量虽已逾百家,但在高端产品领域,尤其是半导体制造所需的关键激光器仍有约95%以上依赖进口。其认为,这种高度依赖国外供应链的现状构成了严峻的产业风险,“一旦供应链受控,将对整个半导体产业造成巨大影响”。

  频准激光也在招股书中表示,应用于量子计算、晶圆制造、晶圆量检测、晶圆隐切等半导体领域对激光器的技术指标要求严苛,能够满足这些需求的竞争对手较少,市场主要由国际头部激光器厂商主导,国产替代的需求紧迫且空间广阔。

  需要注意的是,目前量子信息领域激光器市场整体规模较小。根据QY Research的研究报告,中国市场方面,2024年量子信息领域激光器规模为1.01亿美元,预计2030年将达到3亿美元。2024年半导体设备对激光器的需求规模为5.28亿美元,预计2030年将达到10.93亿美元。

郑重声明:用户在财富号/股吧/博客等社区发表的所有信息(包括但不限于文字、视频、音频、数据及图表)仅代表个人观点,与本网站立场无关,不对您构成任何投资建议,据此操作风险自担。请勿相信代客理财、免费荐股和炒股培训等宣传内容,远离非法证券活动。请勿添加发言用户的手机号码、公众号、微博、微信及QQ等信息,谨防上当受骗!
作者:您目前是匿名发表   登录 | 5秒注册 作者:,欢迎留言 退出发表新主题
温馨提示: 1.根据《证券法》规定,禁止编造、传播虚假信息或者误导性信息,扰乱证券市场;2.用户在本社区发表的所有资料、言论等仅代表个人观点,与本网站立场无关,不对您构成任何投资建议。用户应基于自己的独立判断,自行决定证券投资并承担相应风险。《东方财富社区管理规定》

扫一扫下载APP

扫一扫下载APP
信息网络传播视听节目许可证:0908328号 经营证券期货业务许可证编号:913101046312860336 违法和不良信息举报:021-61278686 举报邮箱:jubao@eastmoney.com
沪ICP证:沪B2-20070217 网站备案号:沪ICP备05006054号-11 沪公网安备 31010402000120号 版权所有:东方财富网 意见与建议:4000300059/952500