中宏网讯据北交所网站消息,北京证券交易所上市委员会将于2026年4月3日召开2026年第35次审议会议,审议临海市新睿电子科技股份有限公司(简称:新睿电子或发行人)的上市申请。作为一家主营业务为工业机器人控制系统及部件、伺服系统及部件的研发、生产和销售于一体的高新技术企业,新睿电子报告期内营收利润双增的背后,不仅存在应收账款余额占营收比例近五成且各期净现比均不足0.5的现象,还疑似存在为主要股东多次提供担保的情况,也引发了外界对其内控的关注。
应收款余额占营收比近五成
招股书显示,新睿电子2023年至2025年度营收分别为20388.49万元、30060.27万元、31838.81万元,净利润分别为3096.6万元、5526.37万元、5904.82万元,业绩持续增长。营收与净利润持续增长的背后,需要注意的是,其各期应收账款余额分别为8840.43万元、12429.21万元、15508.38万元,占营收的比例分别为43.36%、41.35%、48.71%,其中2025年应收账款余额占营收的比例接近五成。
与此同时,合并现金流科目显示,对应各期经营活动现金流净额分别为1075.78万元、2203.07万元、2692.67万元。结合同期的净利润,可以计算出各期净现比分别为0.35、0.4、0.46,所披露的三个会计年度净现比始终未超过0.5。
应收账款占营收比例近五成与各期净现比均不足0.5这一财务组合的背后,不仅反映出盈利质量薄弱的风险,也让投资者对其盈利质量有担忧。
或存在为股东担保未尽事宜
截至本次申报前,新睿电子股东共12位,直接持股比超过5%的主要股东分别为张继周、董李强、陈湘、龙效周、王国斌、郑黎飞。其中控股股东、实际控制人张继周系台州新锐泓执行事务合伙人,直接或间接合计控制54.51%的股份表决权,并担任董事长、总经理、研发部经理;董李强直接持股比16.19%,为张继周的一致行动人,任董事、研发部副经理;陈湘直接持股比13.80%,任深圳分公司负责人和销售主管;龙效周直接持股比10.05%,任董事、副总经理;王国斌、郑黎飞均直接持股比7.54%,分别任子公司深圳迪维迅销售总监、采购总监。
需要指出的是,截至2025年末,发行人及子公司正在履行或已履行完毕的担保合同显示,发行人作为担保方或被担保方的担保合同仅两笔,分别是张继周、董李强为发行人提供的担保,履行情况处于“正在履行”状态。

图片来源:发行人招股书
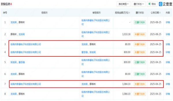
而企查查信息显示,截至目前,发行人作为担保方,为龙效周、廖燕林(龙效周配偶)、董李强、张继周提供的担保尚有三笔处于“未履行完毕”状态,合计担保金额达1964.10万元。

图片来源:企查查
关于正在履行或已履行完毕的担保合同披露内容是否完整,为控股股东、主要股东提供担保是否会影响到中小股东合法权益的问题,新睿电子未予回应。
研发费用归集准确性待斟酌
2022年至2025年度各期,新睿电子研发费用分别为811.90万元、1130.82万元、1497.41万元、1736.83万元,研发费用率分别为4.80%、5.55%、4.98%、5.46%。其中研发人员薪酬分别为468.01万元、723.63万元、939.81万元、1195.50万元,占研发费用的比例分别为57.64%、63.99%、62.76%、68.83%。
需要注意的是,根据问询函回复,新睿电子存在两名高管薪酬分摊计入研发费用的情况。此外,申报稿披露,2022年和2023年度委托研发产生的费用分别为136.23万元、25.00万元。

图片来源:发行人申报稿
而上会稿显示,2022年委托浙江永磁电机股份有限公司和深圳市好强科技有限公司进行研发的项目经费分别为130.00万元、6.60万元;2023年委托上海交通大学研发的项目经费为50.00万元。该信息显然与申报稿内容相冲突。根据《财政部国家税务总局科技部关于完善研究开发费用税前加计扣除政策的通知》(财税〔2015〕119号)、《国家税务总局关于企业研究开发费用税前加计扣除政策有关问题的公告》(国家税务总局公告2015年第97号)、《财政部税务总局科技部关于企业委托境外研究开发费用税前加计扣除有关政策问题的通知》(财税〔2018〕64号),企业委托外部机构或个人进行研发活动所发生的费用,按照费用实际发生额的80%计入委托方研发费用并计算加计扣除,受托方不得再进行加计扣除。

图片来源:发行人上会稿
关于委托研发信息冲突的现象,以及若扣除高管薪酬并以80%计算委托研发费用后,是否符合高新技术企业对于研发投入相关要求的疑点,新睿电子也未回应。
本次IPO,新睿电子拟募资13969.44万元分别用于“生产中心升级改造项目”“研发中心建设项目”及补充流动资金项目,并称“生产中心升级改造项目”的实施,将自建PCBA贴片生产车间,进一步提升产品质量、稳定产品供应,进而巩固产品竞争力,强化市场地位,助力实现持续稳定发展,为未来业绩增长奠定坚实而有力的基础。
特别声明:文中提及内容均来源于公开信息,不构成实质性投资建议,据此操作风险自担。