A股“eVTOL(电动垂直起降飞行器)第一股”要来了。
李书福,又一个IPO要来了。
4月2日,国内eVTOL主机厂四川沃飞长空科技股份有限公司(下称:沃飞长空),在四川证监局进行辅导备案登记,拟首次公开发行股票并科创板上市,冲刺A股“eVTOL第一股”。
截至目前,李书福控制的上市公司包括:吉利汽车、沃尔沃、极星汽车、亿咖通科技、钱江摩托、汉马科技、千里科技(原名力帆科技)、洪桥集团(2023年收购)、路特斯科技、极氪(已完成私有化)、曹操出行。
后续,伴随沃飞长空顺利上市,李书福收获的IPO数量也将来到12个。
01
成都、杭州等地国资押注,完成开年低空经济最大单笔融资
沃飞长空成立于2016年4月22日,前身为四川沃飞长空科技发展有限公司。公司主营业务为电动垂直起降飞行器(eVTOL)的研发、生产与商业化运营,聚焦城市空中交通、低空文旅、应急救援等低空出行场景,致力于提供全球绿色低空出行解决方案。
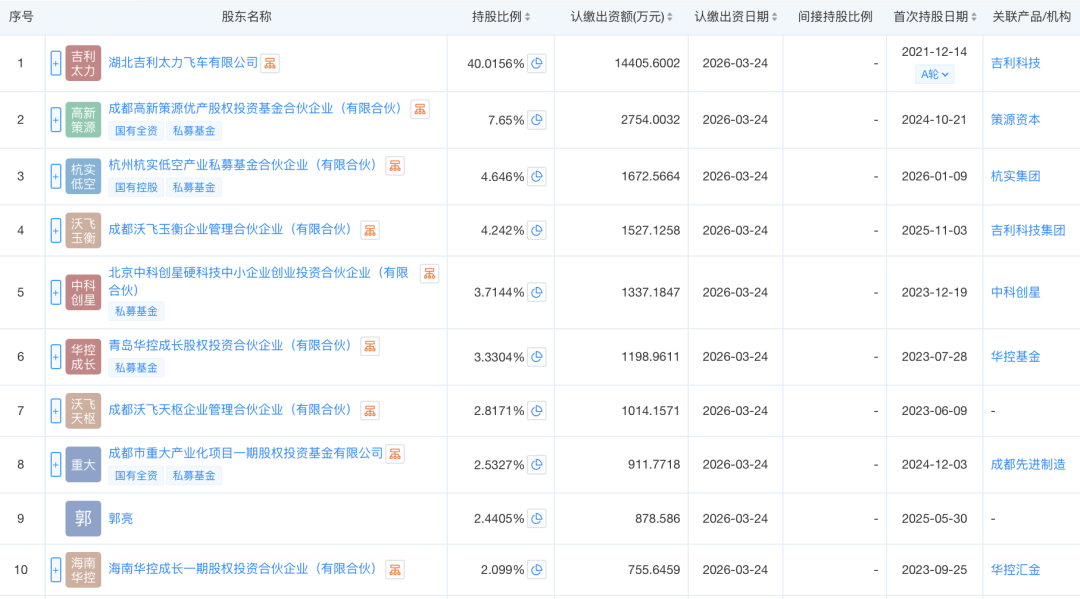
其辅导备案显示,沃飞长空注册资本3.6亿元,法定代表人为吉利集团CEO徐志豪。截至报告出具日,该公司控股股东为吉利科技集团全资子公司湖北吉利太力飞车有限公司,其持有沃飞长空40.02%股权。
吉利科技集团曾最早于2021年对沃飞长空进行Pre-A轮的融资,沃飞长空亦是吉利科技集团旗下新通航战略的核心实践者。
值得一提的是,沃飞长空是四川省、成都市低空经济产业链链主企业。其也是国内第一家由中国民用航空局受理并全面启动适航审定工作的有人驾驶eVTOL航空器公司。
股权结构方面,吉利科技集团旗下湖北吉利太力飞车有限公司、策源资本、杭实集团、吉利科技集团旗下成都沃飞玉衡企业管理合伙企业(有限合伙)、中科创星为该公司前五大股东,分别持股40.0156%、7.65%、4.646%、4.242%、3.7144%。

图:沃飞长空前十大股东名单
其中,策源资本为成都国资成都高新投资集团旗下投资机构,杭实集团为杭州国资与多家地方企业共同创立,中科创星背后亦有陕西国资的身影。
在沃飞长空的股东名单中,还有成都先进制造基金、松禾资本、中信建投资本、陕西空天动力研究院、元禾原点、华西金智、浙江空港资本等多家国资机构现身。
正式启动IPO前,沃飞长空还完成了两轮巨额融资。2026年2月,公司宣布完成近10亿元融资,还创下2026开年低空经济最大单笔融资。该轮融资由中信建投领投,联新资本、祥峰投资、光合创投、国策投资等机构联合投资,磐霖资本、蕴盛资本、中科创星、松禾资本等老股东持续跟投。
2025年11月,沃飞长空宣布完成数亿元C轮融资。该轮融资由杭州市实业投资集团有限公司、Prosperity7 Ventures、松禾资本共同投资,蕴盛资本、翱翔天行等老股东追加投资。两轮融资间隔不足三个月,累计融资数十亿元。
若进展顺利,沃飞长空有望冲刺A股“eVTOL第一股”。在沃飞长空之前,eVTOL龙头厂商亿航智能已在美股上市。
沃飞长空暂未披露业绩,但eVTOL厂商普遍处于高研发投入、尚未盈利的阶段。因此,该公司或是科创板新政出台后,首批受益的低空经济企业之一。
02
近20家参股公司曝光
沃飞长空的快速成长离不开资本的支持。根据企查查股权穿透,参与投资的既有中信建投、联新资本、祥峰投资等知名机构,也有一批A股上市公司。
据不完全统计,A股市场参与投资沃飞长空的上市公司近20家,主要分布于非银金融、建筑装饰、计算机、电子、传媒等行业。
从市场表现来看,截至4月3日,这些公司今年以来股价整体表现较弱,平均跌幅超过10%,仅上海建工股价小幅上涨,中信建投、精工科技今年以来跌幅均超过20%。
南芯科技年内股价跌幅接近16%,今年以来获得30家机构调研。公司表示,近年来在高端消费电子、汽车电子、工业三大方向上不断实现业务突破,2025年预计在收入规模再创新高的同时,汽车电子和工业的业务占比能够较上一年提升,预计2026年其占比还能继续提升,公司对整体业务规模的成长具备信心。
另外,迅游科技今年以来下跌5.19%,公司通过深圳市前海益启信元投资中心(有限合伙)间接投资沃飞长空。
从业绩来看,国泰海通、华西证券、中新集团等6家公司2025年净利润同比增幅均超过30%。

03
上市挑战犹存
据上海证券报,业内普遍认为,eVTOL企业实现境内上市仍面临多重挑战。一位从业者在接受记者采访时表示,尽管政策层面已释放积极信号,但适航取证与商业化落地仍是关键门槛。
“当前行业仍处于取证冲刺阶段,2026年实现境内上市存在一定难度,但可以期待。”上述人士表示,适航资质是影响企业估值与市场认可度的核心因素,而多数企业仍在推进关键认证流程。与此同时,商业化能力仍待验证。由于行业尚未形成规模化营收和稳定盈利模式,即便部分企业已有载货机型交付,整体收入表现仍较为有限。尽管科创板对未盈利企业具有包容性,但仍要求企业具备清晰的盈利预期与落地能力,这也是低空经济企业后续需要重点突破的方向。
由于技术攻坚期漫长、商业兑现滞后,eVTOL企业在发展过程中时不时会面临“资本断流”风险。针对这一痛点,中国证监会于2025年6月发布《关于在科创板设置科创成长层增强制度包容性适应性的意见》,宣布重启未盈利企业第五套上市标准并扩容至低空经济领域,为企业精准“解渴”。
多位低空经济业内人士和创投人士认为,二级市场打开的预期,将有效引导一级市场资金向具有核心技术和发展潜力的企业集聚,形成资本与产业发展的正向循环。
不过,行业要真正飞入资本市场的“风口”,还得全力啃下“适航认证”与“商业化落地”这两块硬骨头。
在这一方面,沃飞长空首席市场官费岚此表示,AE200预计于2026年取证。
AE200为沃飞长空自主研发的6座级倾转动力eVTOL,该机型于2024年6月完成中国首个全尺寸倾转过渡飞行试验,未来主要将应用于城市低空出行、低空文旅、应急救援等。
为了尽快在保障安全的前提下,让eVTOL产品加速落地,沃飞长空目前通过自建设计保证系统、推进运行符合性评审等方式,并应用于AE200产品的研发与适航过程中,将为局方审查提供有效助力。同时,沃飞长空深度参与了多项行业标准的制定,以加速AE200的适航认证。
在商业落地上,费岚透露,沃飞长空也在与国内文旅集团、航空企业、出行平台深度对接落地模式,从文旅、应急、出行等多方面探索商业化运营模式。
例如,在低空文旅领域,可以探索景区间直达航线(如虹桥机场至莫干山153公里,仅需飞行42分钟),解决地面交通不便问题;在城市出行方面,可以实现机场快速接驳(如浦东机场至陆家嘴10分钟直达),大幅提升通勤效率。在应急医疗领域,可以利用eVTOL垂直起降优势,建立快速转运通道(如崇明岛至瑞金医院),为危重病人争取黄金救治时间。
中信建投证券研报指出,低空经济作为国家战略性新兴产业,需强化政策体系的系统性与前瞻性,破解空域管理碎片化、审批效率低等核心矛盾。当前我国低空空域开放率不足 30%,且分布不均、未成网连片,制约多元化服务需求,建议以《国家空管体系建设规划》为引领,建立国家低空经济发展统筹协调机制,多部门协同制定空域分类管理细则。
低空经济市场规模大,基础设施建设仍需加强。根据赛迪研究院测算,2023年中国低空经济规模达5059.5亿元,增速达33.8%。其中,低空经济规模贡献中,低空飞行器制造和低空运营服务贡献最大,接近55%,围绕供应链、生产服务、消费、交通等经济活动带来的贡献接近40%,而低空基础设施和飞行保障的发展潜力尚未充分显现。加速硬基础设施网络布局,我国通用机场数量仅为美国公共通航机场11%,需加快建设密度覆盖需求,重点在城市中心布局eVTOL起降场、无人机物流枢纽及直升机平台,推动平战结合功能设计,形成“枢纽机场+区域中心+分布式起降点”三级网络。推进低空数字基础设施与智慧化管理,整合物联网、AI、5G/6G、实景三维数字孪生及北斗导航技术,打造覆盖全国的空域数据网格模型与地理信息系统,实现全域低空态势感知与动态调度。开发低空新航行系统(LNS),支持多机协同、自主避障及集群调度,解决传统空管系统分散、响应慢问题。同步建设低空飞行服务站(FSS)、充换电站、气象监测及公共测试场,结合“新基建”强化电力、通信及地面交通衔接。
以eVTOL为核心的新型飞行器是行业发展的关键载体,需突破技术壁垒、完善产业链并加速商业化落地。强化核心技术攻关与自主可控,例如当前我国eVTOL电池能量密度仅 285Wh/kg(面向城市交通需≥400Wh/kg)、主控芯片等关键部件依赖进口,制约创新速度。突破适航认证瓶颈,民航局加速受理eVTOL适航取证,企业也需加强标准研究与适航技术积累,优先推进“先载货后载人、先隔离后融合”验证路径。构建完整产业链生态,我国无人机产业链上游占比达70%,但下游运营服务薄弱,需推动eVTOL制造链“整机+核心部件+供应链协同”,鼓励主机厂与电机、导航通信、复合材料等企业共建产业园区,降低制造成本并提升交付效率。
来源:新财富杂志综合自上海证券报、数据宝、科创板日报、券商研报等