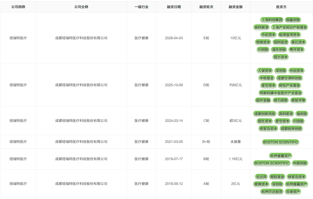
《科创板日报》4月5日讯(记者史士云)近日,成都纽瑞特医疗科技股份有限公司(下称“纽瑞特医疗”)宣布完成10亿元E轮融资,由上海国投公司旗下上海科创集团,联合上海国鑫、老股东南京高科新浚共同领投,上海科创集团旗下知识产权基金、鼎泰星、中启资本等十余家机构参与跟投。
此次融资规模也创下国内核药领域单轮融资新高。
本次融资资金将主要用于放射性药物核心管线临床开发、医用同位素研发生产及市场建设等,以巩固纽瑞特医疗在国产医用同位素及放射性药物领域的领先地位。

至此,纽瑞特医疗已完成六轮融资,累计融资规模超24亿元,其中距今年最近的一轮融资于发生在2025年10月,投资方包括人保资本、深创投、中启资本、中核基金、成都空港科创投、星空资本、财信产业基金、阿斯利康中金医疗产业基金、国开金融、核力高新、新投华集等机构。该轮融资也是近年来国内核医药领域规模的最大融资。

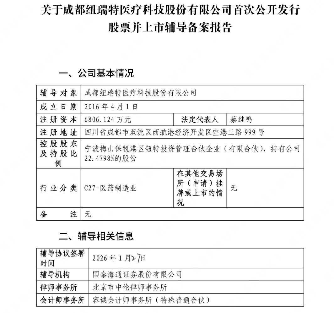
另值得一提的是,纽瑞特医疗已于今年1月启动了上市辅导,开启了A股IPO进程,由国泰君安担任辅导机构。若后续顺利完成上市,纽瑞特医疗或将成为四川首家本土核医疗领域的上市公司。
▌布局多款创新放射性药物
资料显示,纽瑞特医疗成立于2016年,位于成都市双流区,注册资本为6806.12万元,由78岁的钱积惠、76岁的李茂良,与51岁的蔡继鸣三位核技术专家联合创立,被业内称为这可能是中国最“老”的科技创业团队。

根据纽瑞特医疗官网显示,钱积惠是中国核工业资深专家,曾担任中国核动力研究设计院院长,联合国国际原子能机构任副总干事,是公司的技术引领者;李茂良是核药研发专家,曾任中国核动力研究设计院反应堆运行研究所副所长、成都同位素应用研究所所长,也是成都云克药业有限责任公司创始人,主要负责公司的技术把关和研发方向;最年轻的蔡继鸣是技术转化和产业发展专家,曾任四川省原子能研究院副院长、四川省生产力促进中心主任,主要负责团队管理、对外沟通和商业化运营。
在业务上,纽瑞特医疗专注于医用同位素及放射性药物的研发、生产与商业化,构建起了覆盖辐射安全、药学研究、临床开发、生产检验及供应链全链条的自主能力。
目前,纽瑞特医疗布局了多款创新放射性药物,包括钇[90Y]炭微球注射液、核素偶联生物单抗/多肽等,涉及到肝癌、胰腺癌、淋巴癌、甲状腺癌等多个疾病领域。
所谓放射性药物是指含有放射性化学元素的药物,也被称为核药,根据放射性同位素所产生辐射的类型,这类药物可用于诊断或治疗多种疾病。
近日,佛山瑞迪奥医药有限公司申报的锝[99mTc]佩昔瑞特加肽注射液及配套药盒通过优先审评审批程序获得国家药监局批上市,用于可疑肺癌患者区域淋巴结转移的辅助检查,成为我国首个自主研发的1类创新核药。
当前,核药产业正迎来快速发展期,据沙利文预测,该领域市场规模预计在2030年将扩大至260亿元,不断扩容的市场也吸引了国内众多企业的涉足,包括中国同辐(01763.HK)、中广核技(000881.SZ)、远大医药(00512.HK)等。
目前,纽瑞特医疗在核药领域的布局已处于第一梯队,其适用于肝癌适应症的NRT6003注射液已在国内进入III期临床,根据纽瑞特医疗方面的介绍,该产品的工作原理是将粒径20-45μm的放射性微球,通过微创手术精准递送至实体肿瘤病灶内,利用钇[90Y]核素衰变释放的高能β射线杀死癌细胞,达到精准治疗的目的。纽瑞特医疗方面称,钇[90Y]核素释放的β射线平均射程仅2.5mm, 对正常组织的损伤非常小。

同时,纽瑞特医疗适用于“癌王”胰腺癌的NRT6008产品正在开展Ⅰ/Ⅱ期临床试验;针对晚期恶性实体瘤的NRT6020组合产品(68Ga-NRT6020注射液及 177Lu-NRT6020注射液)也完成了I期临床试验的首例受试者入组。
此外,纽瑞特医疗生产的锗镓发生器、锕- 225等核素产品已实现了批量销售。
▌国内首台核医学领域回旋加速器投运
另值得一提的是,今年1月,纽瑞特医疗曾宣布,其全球第二、中国首台核医学领域的商用Cyclone IKON 30MeV回旋加速器正式投运。
根据纽瑞特医疗披露的信息,Cyclone IKON 30MeV回旋加速器历时三年多规划建设,总投资达2.5亿元。
区别于科研院所专用加速器,Cyclone IKON 30MeV回旋加速器聚焦商用与产业化,可规模化制备锗68、碘123、锆89、锕225等临床紧缺医用放射性核素,补齐国内关键核素自主供应能力。
这一技术突破解决了我国核素领域长期存在的供应难题:此前国内关键医用放射性核素对外依存度超90%,进口核药单次治疗费用高达30万元以上,且易受国际形势、运输周期等制约,多家医院曾出现核素供应中断问题。
纽瑞特医疗方面表示,Cyclone IKON 30MeV回旋加速器全面投运后预计在1-2年内就能初步解决多种临床急需同位素的产业化供应问题,并将形成从放射性核素原料到终端药物生产的全产业链条,并有望成为国内商业化核素药物品种最多、规模最大的基地之一,预计年产值将超10亿元。
另在2025年10月,纽瑞特全资子公司福州纽瑞特医用同位素及药物产业化项目也已启动,该项目总投资约2亿元,主要生产放射性诊断和治疗药物等前沿产品。同时,项目将配套建设16MeV回旋加速器,为核心研发与规模化生产提供支撑,拟在2027年底前投入生产。
未来,纽瑞特医疗还将在上海建立研发中心和新药研制基地,2025年,上海浦东新区发布了《促进医用同位素产业高质量发展的若干举措》, 以供应链、运输链、创新链、服务链、政策链与安全链的“六链协同”,为医用同位素创新研发与产业化提供了良好的政策环境。