南京江北新区科技投资集团增资至31.1亿元
来源:每日经济新闻
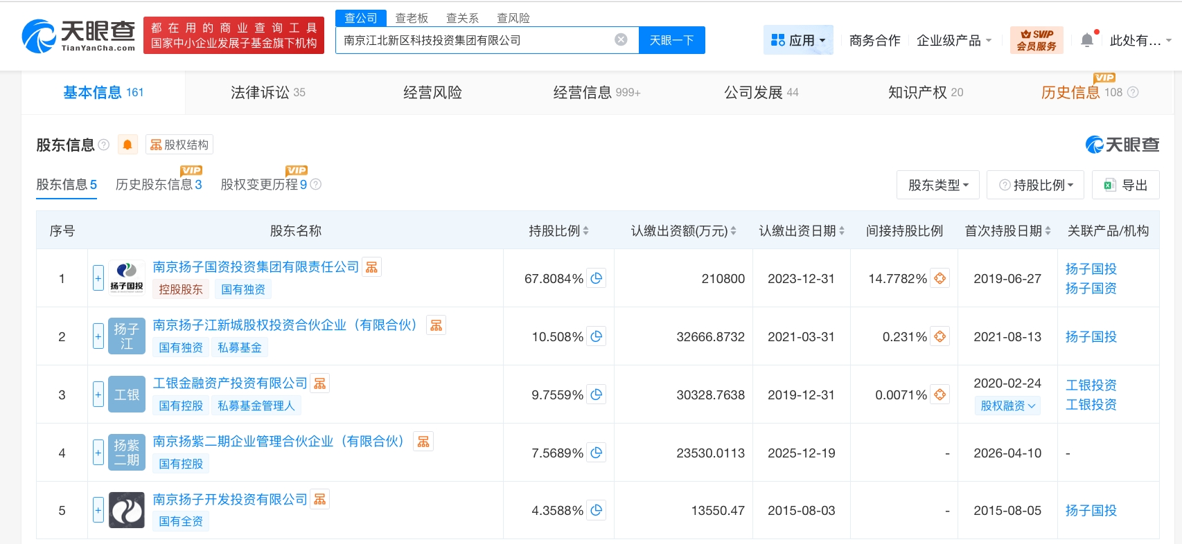
天眼查App显示,近日,南京江北新区科技投资集团有限公司发生工商变更,注册资本由约28.7亿元增至约31.1亿元,增幅约8%。同时,新增南京扬紫二期企业管理合伙企业(有限合伙)为股东。南京江北新区科技投资集团有限公司成立于2012年7月,法定代表人为高亮,经营范围含技术咨询及售后服务、科学技术成果转让、技术研发机构办公用房的出租及物业管理等。股东信息显示,该公司现由南京扬子国资投资集团有限责任公司、南京扬子江新城股权投资合伙企业(有限合伙)、工银金融资产投资有限公司及上述新增股东等共同持股。



郑重声明:用户在财富号/股吧/博客等社区发表的所有信息(包括但不限于文字、视频、音频、数据及图表)仅代表个人观点,与本网站立场无关,不对您构成任何投资建议,据此操作风险自担。请勿相信代客理财、免费荐股和炒股培训等宣传内容,远离非法证券活动。请勿添加发言用户的手机号码、公众号、微博、微信及QQ等信息,谨防上当受骗!
评论该主题
帖子不见了!怎么办?作者:您目前是匿名发表 登录 | 5秒注册 作者:,欢迎留言 退出发表新主题
温馨提示: 1.根据《证券法》规定,禁止编造、传播虚假信息或者误导性信息,扰乱证券市场;2.用户在本社区发表的所有资料、言论等仅代表个人观点,与本网站立场无关,不对您构成任何投资建议。用户应基于自己的独立判断,自行决定证券投资并承担相应风险。《东方财富社区管理规定》