阿里神秘“酒窝”,明天见
来源:上海证券报
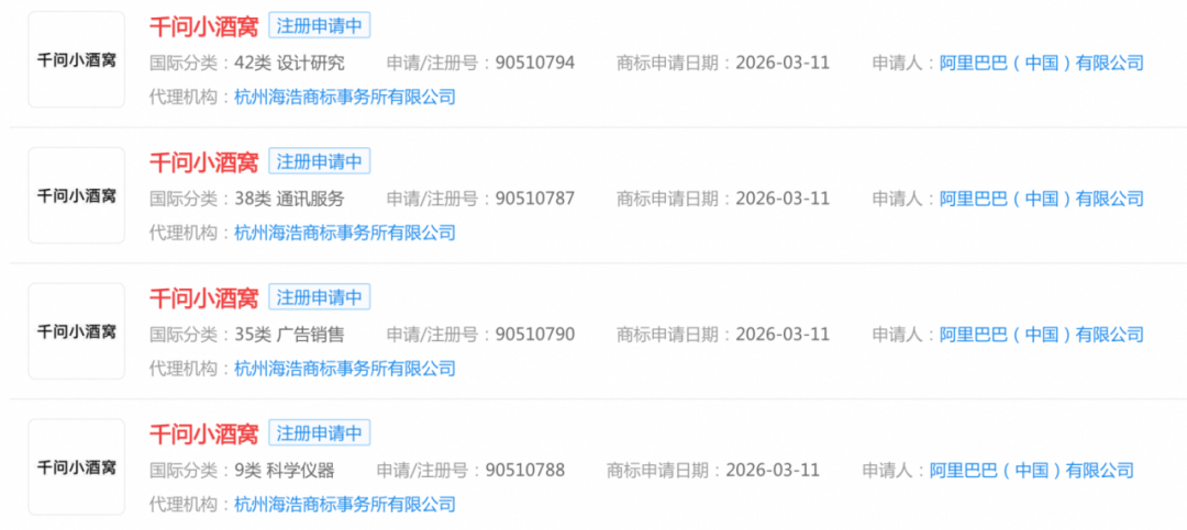
4月21日,企查查数据显示,阿里巴巴(中国)有限公司于2026年3月10日悄然申请了4项名为“千问小酒窝”的商标,涉及AI、人形机器人等多个领域。
4月20日,阿里集团官方账号发布了一幅神秘海报,文案只有“4月22日见,hello world”,画面中是一位酒窝特征明显的女性形象。
记者4月21日在企查查官方网站看到,阿里“千问小酒窝”商标涵盖第9类(科学仪器)、第35类(广告销售)、第38类(通讯服务)以及第42类(设计研究)共4个国际商标分类。

其中,已申请项目包括人工智能即服务(AIaaS)、模拟对话用聊天机器人软件、科学研究用具有人工智能的人形机器人、辅助人类和供人娱乐用具有交流和学习功能的类人机器人等,目前商标状态均为“注册申请中”。

自3月16日Alibaba Token Hub (ATH) 事业群成立以来,阿里在AI领域动作不断,一个月内连续发布视频模型HappyHorse、世界模型HappyOyster,以及AI开发工具Meoo(秒悟)等多款产品。
据海报信息,更多AI业务进展也将于本周内公布。
郑重声明:用户在财富号/股吧/博客等社区发表的所有信息(包括但不限于文字、视频、音频、数据及图表)仅代表个人观点,与本网站立场无关,不对您构成任何投资建议,据此操作风险自担。请勿相信代客理财、免费荐股和炒股培训等宣传内容,远离非法证券活动。请勿添加发言用户的手机号码、公众号、微博、微信及QQ等信息,谨防上当受骗!
评论该主题
帖子不见了!怎么办?作者:您目前是匿名发表 登录 | 5秒注册 作者:,欢迎留言 退出发表新主题
温馨提示: 1.根据《证券法》规定,禁止编造、传播虚假信息或者误导性信息,扰乱证券市场;2.用户在本社区发表的所有资料、言论等仅代表个人观点,与本网站立场无关,不对您构成任何投资建议。用户应基于自己的独立判断,自行决定证券投资并承担相应风险。《东方财富社区管理规定》