12月16日,港股市场全线下跌。截至收盘,恒生指数跌1.54%报25235.41点,恒生国企指数跌1.79%报8757.93点,恒生科技指数跌1.74%报5402.51点。

近期,港股市场波动加剧,自12月1日以来,恒生科技指数累计跌逾4%,恒生指数累计跌逾3%。港股板块全线下跌,黄金及贵金属、软件服务、保险、零售领跌,仅部分中资券商股、汽配股、食品饮料股逆势活跃。果下科技今日港股上市,盘中一度涨超145%。腾讯控股今日跌1.08%,盘中股价跌破600港元/股。
亚太市场今日开盘不久后均急速下挫。截至收盘,日经225指数跌1.56%,韩国综合指数跌2.24%。
业内人士认为,近期美联储降息预期降温引发全球流动性担忧,以及市场对人工智能泡沫的争论造成了港股下挫。此外,资金面上,年末内地资金流入港股放缓、港股解禁潮带来的技术性卖压,也是港股市场下跌原因。
消息面上,12月11日,据新华社报道,分析人士认为,美联储内部围绕是否进一步降息分歧加剧,因此有人猜测,在明年5月美联储主席鲍威尔卸任前可能不会再降息。下一任美联储主席预计将推动进一步降息,但受制于通胀压力依然较高等因素,降息空间或有限。
科技股回撤较大
近期在年末市场风险偏好趋于谨慎、南向资金流入放缓等多重因素影响下,港股科技板块持续回调。
12月16日,港股市场科技板块午后跌幅扩大。截至收盘,恒生科技指数成分股中,商汤-W跌6.1%,小鹏汽车-W跌1.83%,阿里巴巴-W跌2.96%,小米集团-W跌2.25%,中芯国际跌1.93%。腾讯控股跌1.08%,盘中股价跌破600港元/股。
拉长时间段看,12月以来,阿里巴巴-W累计跌超6%,中芯国际累计跌近9%。
12月15日,中金公司发布研报认为,近期,海外流动性预期有所反复,港股外资占比较高,相比A股更容易受到海外因素影响。年底日本央行加息预期升温,市场对日元套息交易情绪逆转,港股市场承压。
果下科技上市盘中涨超145%
部分港股智能驾驶概念股走强,浙江世宝AH股齐涨。截至收盘,浙江世宝A股涨停,港股涨逾12%;佑驾创新涨超8%。
12月15日,工业和信息化部正式公布我国首批L3级有条件自动驾驶车型准入许可,两款分别适配城市拥堵、高速路段的车型将在北京、重庆指定区域开展上路试点,标志着我国L3级自动驾驶从测试阶段迈入商业化应用的关键一步。
今年前三季度,浙江世宝实现营收24.62亿元,同比增长35.44%;实现归属于上市公司股东的净利润1.50亿元,同比增长33.66%。公司表示,这主要得益于报告期内汽车电动化、智能化、全球化趋势加速,中国品牌乘用车市占率逐步提升。因此,公司电动化、智能化转向系统产品销售持续增加,整体毛利增长,从而实现营收和利润的双增长。
12月16日,果下科技在港交所上市,股价高开89.05%,盘中涨超145%。截至收盘,果下科技涨117.91%,总市值224.2亿港元。招股书显示,果下科技是一家储能行业的可再生能源解决方案及产品提供商,其储能系统解决方案能够覆盖大型电源侧、大电网侧、工商业及住宅等应用场景。

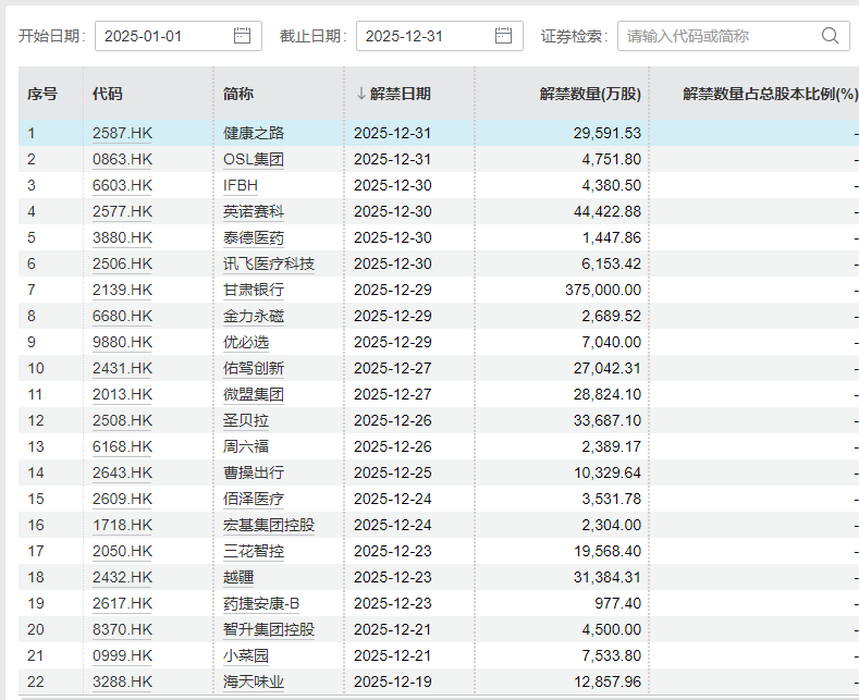
年末解禁高峰期港股波动加剧

12月16日,三花智控港股再度下跌,截至收盘跌超3%。12月15日,三花智控港股收盘跌超7%。消息面上,三花智控将于12月23日迎来港股基石投资者解禁。今年6月23日,三花智控在港交所上市,17家基石合计投资金额超过44亿港元。

Wind数据显示,今年全年,港股市场总解禁市值为6136.9亿港元。其中,11月初至12月底,港股市场迎来解禁高峰,总解禁规模达到1971.3亿港元,约占全年总量的32.1%,其对市场流动性的潜在影响引发了投资者广泛关注。
有港股资管人士在接受上海证券报记者采访时表示,这波解禁潮主要源于两个方面:一是上半年密集上市的“A+H”新股基石投资者禁售期集中届满;二是去年上市的部分新经济公司控股股东锁定期结束。近年来,一批新经济公司、生物科技企业登陆港交所,其基石投资者、Pre-IPO股东及原始股东所持股份的锁定期通常为6到12个月。随着锁定期在年末集中结束,港股迎来了阶段性的解禁高峰。
广发证券研报分析,11月中旬以来港股加速下跌,原因在于其受制于海外流动性压力。叠加解禁高峰,导致港股市场对利好反应迟钝、对利空敏感,因而外围波动易引发显著回撤。